Le référencement est un espace chaotique qui exige des experts en marketing numérique pour repousser les limites chaque jour. Les SEOs à travers le monde gardent toujours les doigts croisés car ils sont constamment hantés par la peur d’une mise à jour imminente de Google ou d’un autre type de pénalité. Quand leur pire peur se réalise, ils se lancent dans une frénésie, essayant de trouver des remèdes, contrôlant les dégâts, essayant de restaurer le site dans sa gloire d’antan.
Si vous êtes quelqu’un qui a vécu des situations aussi tendues, cet article peut vous aider à prévoir ce que Google prévoit pour ses futures mises à jour d’algorithmes et à vous préparer à l’avance. Cependant, Google n’a pas toujours raison. Voyez comment Kinsta a accidentellement reçu une pénalité.
Cet article vous donnera une longueur d’avance dans la compréhension des facteurs de référencement les plus critiques qui définiront le paysage SEO en 2020. Ceci devrait, espérons-le, être une révélation pour les professionnels du référencement qui veulent aller au-delà des astuces et des hacks pour créer des stratégies de référencement et de marketing numérique qui auraient un effet à long terme.
Méthodologie
Nous avons analysé plus de 20 brevets majeurs sur lesquels Google a travaillé ou qui ont été mis en œuvre au cours des deux dernières années. Selon le type de technologie, il faut parfois des années pour que certains d’entre eux apparaissent dans les recherches Google.
Dans l’ensemble, nous soulignerons 11 domaines majeurs auxquels les spécialistes du référencement et du marketing numérique devraient accorder une attention particulière en 2020.
- Pertinence et intention du contenu plus précises
- Devenez multilingue en 2019
- Apple = Apps, mais Google = Google + Apps
- L’importance de la recherche géolocalisée
- Renforcer les communautés en ligne et augmenter le nombre d’évaluations des utilisateurs pour la recherche locale
- Reconnaissance vocale – Le mode de recherche de l’avenir
- Optimisation et clarification des images
- Un retour sur les paramètres de classement
- Suivi des événements dans les vidéos et le placement publicitaire
- Des résultats de recherche sur mesure et un accès plus rapide
- Évitez d’utiliser du contenu multimédia protégé par des droits d’auteur ou de tierces parties.
1. Pertinence et Intention du Contenu plus Précises
Si vous avez affaire au référencement depuis un certain temps, vous connaissez peut-être déjà l’algorithme classique de classement des pages que les fondateurs de Google ont écrit.

Algorithme du PageRank
La plupart d’entre nous savons maintenant que seule une fraction de l’algorithme de PageRank reste actif pour classer les pages web aujourd’hui. l’algorithme du PR a été mal utilisé par la communauté SEO, et Google a réalisé qu’il doit continuellement évoluer pour fournir des classements et des contenus pertinents à ses utilisateurs. Cependant, Google peut encore utiliser l’algorithme du PageRank en interne.
Bien qu’il s’agisse là d’un effort ouvrant la voie, l’espace des moteurs de recherche a évolué depuis lors avec un accent particulier sur la fourniture de résultats de recherche précis. De plus, une grande partie du mérite revient à la R&D continue de Google dans le développement de technologies Internet brevetées qui ont ouvert la voie à une expérience de recherche exceptionnelle et à des millions de revenus pour des millions d’entreprises comme la vôtre.
Après avoir constaté une mauvaise utilisation généralisée de l’algorithme de PageRank, Google a compris la nécessité d’évaluer la pertinence du contenu comme facteur de classement principal. Depuis lors, Google a investi beaucoup de temps pour créer des technologies qui pourraient établir une corrélation pertinente entre les pages concernant le contexte.
D’après notre expérience, nous avons vu des sites web qui créent du contenu avec des sujets étroitement liés et qui dirigent les SERPs pour les mots-clés majeurs. C’est là qu’intervient l’accent mis sur le regroupement des contenus.
Le brevet de Google sur le regroupement de contenu envoie un signal similaire. L’algorithme considère d’abord un sujet et crée ensuite une matrice de distance des sous-sujets par rapport au sujet principal. Plus les sous-thèmes sont proches du sujet principal, meilleures sont ses chances d’apparaître dans les résultats de recherche.
En fait, l’accent mis sur le regroupement semble être assez général. C’est tellement profond que le logiciel de marketing HubSpot montre un pourcentage de corrélation d’un sous-thème concernant le sujet principal.
Comme vous le savez peut-être, HubSpot encourage ses utilisateurs à créer du contenu à trois niveaux différents. Lorsque vous créez un sujet au niveau suivant, il donne un facteur de corrélation et vous permet de voir à quel point les sujets seraient étroitement liés.
Beaucoup de gens qui ont implémenté la technique de HubSpot ont admis que leur trafic et leurs requêtes ont augmenté après avoir suivi la méthode de création de contenu qui n’est rien d’autre qu’une forme de clustering de contenu.

L’idée d’un cluster de contenu dans la méthodologie HubSpot. Le logiciel de marketing de HubSpot donne une valeur de corrélation à tous les sous-thèmes créés sous un thème principal ou un contenu de pilier.
Avec ce brevet, Google recherche des créateurs de contenu pour construire des clusters de contenu avec une corrélation élevée qu’ils peuvent analyser plus profondément avec des mesures d’engagement pour attribuer des classements pertinents.
Il existe un autre brevet de Google intitulé « questions répondant à des questions pour alimenter la base de connaissances » qui semble augmenter ou soutenir l’ensemble de l’exercice des clusters de contenu. Google renforce également la pertinence contextuelle en l’amalgamant à la personnalisation. L’un des exemples est le brevet d’un générateur dynamique de résumé, qui met l’accent sur la création de différents résumés de données concernant l’utilisateur qui est récupéré à partir de comptes, cookies ou périphériques.
De plus, l’accent mis sur la pertinence contextuelle est également reflété par un des brevets de Google qui s’articulent autour de la promotion des publicités en référence au contexte. Le brevet parle explicitement de la promotion au sein des pages web, suggérant un lien plus étroit et une pertinence contextuelle du contenu.
Que Devraient Faire les SEOs ?
Concentrez-vous sur les mots-clés et créez du contenu pertinent. Cela va fonctionner dans les deux sens, c’est-à-dire dans les SERPs et aider les éditeurs à tirer un meilleur profit des publicités.
2. Devenez Multilingue en 2020
Les résultats de recherche multilingues sont de plus en plus prioritaires. Au fur et à mesure que l’environnement basé sur les applications prenait de l’ampleur, nous avons vu Google et Apple mettre davantage l’accent sur les applications et les recherches multilingues.
Alors qu’Apple se limite aux applications, le modèle économique de Google, qui s’articule autour de la recherche, dérive beaucoup des sites multilingues. A l’heure actuelle, plus de 50% de la population mondiale n’a pas Internet. En ce qui concerne les données démographiques, ces personnes sont plus susceptibles de connaître leur langue maternelle que l’anglais.

C’est dans cette optique que Google a déposé un certain nombre de brevets qui donneraient plus de poids aux sites multilingues.
Production Participative (Crowdsourcing) de Traduction Humaine
Google s’est vu décerner un brevet sur une technologie web qui permet au développeur d’un site web arbitraire de créer une option « opt-in » pour la traduction humaine.
Bien que nous ayons reçu des traductions automatiques sur nos navigateurs, le manque apparent de qualité des traductions est bien connu. C’est pourquoi Google investit aujourd’hui dans des technologies qui apporteraient une traduction humaine pour une expérience plus significative et plus fiable.
Néanmoins, vous pouvez parier gros sur une traduction précise, des sites multilingues et du contenu en 2020. Découvrez comment Kinsta a lancé son site en 10 langues différentes.
3. Apple = Apps, mais Google = Google + Apps
Depuis que l’environnement piloté par les applications s’est généralisé avec l’iPhone, le paysage de la recherche a également changé de façon spectaculaire. L’utilisation du mobile a augmenté, ce qui a entraîné une augmentation de la demande d’applications mobiles et de sites web mobiles.
Au cours des années précédentes, nous avons vu la confusion entre le choix d’un site web mobile ou la création d’une application mobile. Beaucoup de gens ont construit des applications au lieu d’un site web mobile et ont attendu les téléchargements dans l’app store ce qui ne sont jamais arrivés.
Soudain, l’app store avec des millions d’applications a découvert un éléphant géant dans la pièce : app discovery.

La découverte d’applications a été un problème persistant pour Apple et Google pendant longtemps, et Google a finalement pris l’initiative de résoudre ce problème et de fournir une découverte contextuelle par le biais de la recherche Google ainsi que la recherche d’app store.
L’un des brevets accordés à Google met l’accent sur le classement des applications de l’app store en fonction de la mention sociale de ces applications. Le brevet stipule qu’un certain nombre de signaux seront analysés à partir de sites web de réseaux sociaux, puis un score composite est obtenu pour classer les applications.
Que Devraient Faire les SEOs ?
Puisque le brevet est déposé avec Google, vous pouvez vous attendre à ce que les résultats soient plus prononcés sur le Play Store que sur l’Apple App Store.
Par conséquent, pour les moteurs de recherche, il devient important de se concentrer sur les réseaux sociaux et les activités d’influence en 2020, si l’application augmente, elle est déjà au centre de l’attention dans votre modèle commercial.
4. L’importance de la Recherche Géolocalisée
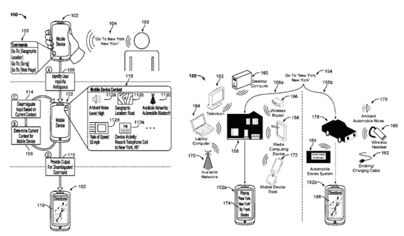
Nous avons vu comment Google se concentre sur la fourniture de résultats de recherche contextuelle par regroupement de contenu, ce brevet suivant sur la désambiguïsation de l’entrée, basée sur le contexte, amène l’idée à un tout autre niveau.
D’après ce brevet, les questions ambiguës de l’utilisateur peuvent être clarifiées en ce qui concerne l’emplacement en temps réel de l’appareil de l’utilisateur, la vitesse à laquelle l’utilisateur se déplace (déplacement en voiture, etc.), le type d’appareil (mobile ou ordinateur), et d’autres facteurs.
Que sont les Requêtes Ambiguës ?
Les requêtes ambiguës ne sont rien d’autre que des requêtes qui n’ont généralement pas une intention de recherche claire. L’une des raisons pour lesquelles beaucoup de spécialistes du marketing s’intéressent aux recherches à longue traîne est qu’ils ont une intention claire de recherche et d’achat et, par conséquent, un CPC élevé également.

Cependant, Google reçoit beaucoup de requêtes de recherche qui peuvent être larges par rapport au contexte et ambiguës en ce qui concerne l’intention. La raison principale de ces requêtes est que les utilisateurs non qualifiés peuvent ne pas être au courant du contexte de la recherche eux-mêmes.
Ainsi, maintenant, Google va non seulement les aider à se renseigner sur le contexte, mais aussi leur fournir des résultats contextuels, même lorsque les requêtes ne sont pas aussi simples.
Que Devraient Faire les SEOs ?
Cela relève sans aucun doute du domaine de l’optimisation de la recherche locale. Par conséquent, les gestionnaires de référencement doivent en tenir compte et conserver leur liste de contrôle de référencement local ainsi qu’une liste de termes généraux qui sont à la limite, ou qui ont une corrélation avec leur mots-clés cibles.
Par conséquent, si vous êtes un restaurant qui vend des sushis dans une rue animée, vous feriez mieux d’inscrire votre nom sur les cartes de Google ; utilisez « sushi » dans le nom ou le sous-texte de votre restaurant et attirez des avis sur Google ou d’autres sites d’avis. Ceci nous amène au sujet suivant, les avis des utilisateurs.
5. Renforcer les Communautés en Ligne et Augmenter le Nombre d’Avis d’Utilisateurs Authentiques pour Dominer la Recherche Locale
En plus de clarifier les requêtes, Google a trouvé un autre brevet destiné à déterminer les attributs de l’entité dérivés des avis de l’utilisateur.
Ici, l’entité peut signifier n’importe quel site web où un produit peut être listé et vendu qui attire naturellement les avis des utilisateurs. Google est susceptible de donner beaucoup d’importance sur les avis de Google que les entités listent pour les avantages SEO locaux.
Le brevet stipule que Google est susceptible de se concentrer sur l’obtention de résultats à partir d’un ensemble de métadonnées qui comprend l’union d’un algorithme, de matériel et d’un morceau de support lisible par ordinateur pour analyser les avis des utilisateurs et ensuite les mettre en corrélation avec le produit ou le site web répertorié par l’entité.
Cela signifie indirectement que Google se concentre sur la détermination des avis authentiques d’utilisateurs qui donnent un aperçu fiable et véridique de toute entreprise. Cela peut également s’appliquer aux sites web qui permettent à Google de recueillir ses données à partir de leurs serveurs.
Le dumping des avis négatifs est une pratique courante. En dehors de Google, beaucoup d’autres entreprises luttent contre la même menace qui dépend des critiques pour qualifier les utilisateurs et générer des ventes. Amazon les réprime depuis un certain temps déjà.

Un autre brevet intitulé pour la gestion des communautés en ligne fonctionne sur la même ligne pour valider et attirer de meilleures données générées par les utilisateurs – encore un autre effort pour rationaliser le graphique des connaissances.
Le brevet vise à identifier les véritables utilisateurs et leur donne un poids en fonction de leur contribution dans un forum en ligne. La valeur est calculée en fonction d’un certain nombre de facteurs sur un certain nombre de sujets. Lors de la recherche d’une requête pertinente, ces réponses, pages ou liens seront prioritaires.
Une autre façon d’y parvenir est d’augmenter le nombre de requêtes de recherche. Dans l’un des brevets fournissant des résultats de recherche à l’aide de requêtes de recherche augmentées, il est indiqué que les résultats de la recherche sont directement corrélés à l’une des entités (personnes réelles). Depuis Google est plus à l’écart, on peut s’attendre à ce que Google compte beaucoup sur LinkedIn pour le faire.
Que Devraient Faire les SEOs ?
Si vous avez affaire à des applications mobiles, devenez un leader d’opinion dans les forums. Si vous traitez avec le commerce électronique, essayez de devenir un pro sur le forum Amazon Seller. Intégrez votre équipe technique au marketing pour de meilleurs résultats.
En ce qui concerne les avis, comprenez que cela va devenir un facteur important pour le référencement local dans les années à venir. Par conséquent, si vous pensez à du black hat SEO avec les avis, il est préférable de reconsidérer votre décision.
6. Reconnaissance Vocale – Le Mode de Recherche de L’avenir
Nous savons tous que Google a développé beaucoup de technologies dans le domaine de la reconnaissance vocale. De plus, alors que 320 millions d’utilisateurs utilisent la recherche vocale, il est tout à fait logique d’investir dans ce domaine.
Les chiffres ne se limitent pas à Google. Pour mémoire, il faut noter que plus de 4 millions d’appareils Amazon Echo sont vendus chaque année à l’occasion des fêtes de fin d’année. C’est un nombre considérable. En fait, selon Gartner, le leader mondial de la recherche, près de la moitié des recherches se feront par la voix d’ici 2020.
En regardant le brevet nous pouvons voir que Google veut reconnaître les mots-clés à l’intérieur de longues lignes de discours. Qu’est-ce que cela suggère ?
Les programmes d’apprentissage machine gèrent maintenant beaucoup de choses dans l’algorithme de Google. Avec la quantité de métadonnées que Google recueille, l’ensemble du processus de recherche et de consommation du contenu va être extrêmement intuitif. C’est exactement ce que Google essaie de réaliser avec la parole.

Sur la page web de Siri, vous pouvez clairement comprendre que ces entreprises (y compris Google) veulent que l’interaction homme-machine soit extrêmement intuitive pour généraliser la recherche vocale.
Avec tous ces assistants vocaux, les entreprises, qu’il s’agisse d’Amazon, d’Apple ou de Google, veulent en fait que nous discutions avec les services vocaux comme s’ils étaient humains. Toutefois, pour que Google puisse indiquer des résultats pertinents, il lui faudrait encore certains points de données, comme des mots clés, pour restreindre le contexte et fournir des résultats précis. C’est ce que le brevet Google essaie d’accomplir.

Que Devraient Faire les SEOs ?
Comme beaucoup de requêtes transactionnelles sont naturellement attirées par Amazon, et qu’ils vendent beaucoup d’Echos, Google voudra le faire au cours des deux prochaines années. Par conséquent, les gestionnaires SEO doit se concentrer sur l’optimisation de leurs sites avec la perspective de la recherche vocale en 2020.
7. Optimisation et Clarification des Images
Google a déposé un brevet sur les requêtes contextuelles clarifiées dans lesquelles un utilisateur peut directement demander au service de recherche de lui donner des informations en temps réel sur une image qu’il est en train de visualiser dans son appareil.

Comme on l’a dit, cela créera des requêtes contextuellement clarifiées où le service de recherche composera le référentiel de sous-images et donnera ensuite une sortie vocale – indiquant à l’utilisateur ce que sont les objets actuellement visualisés et ce qu’ils sont réellement.
Nous pouvons supposer qu’une couche d’activité accrue peut également prendre le dessus sur l’écran pour faciliter l’accès à l’information sur l’objet visualisé. C’est parce que les actuels Android 8 et 9 sont construits en grande partie sur cela.

En ce qui concerne l’exactitude visuelle et l’UX, Google dispose déjà d’un principe de conception des matériaux bien défini pour le confirmer.
Le But du Brevet de Recherche D’images Distribuée
Il existe un autre brevet qui réaffirme l’accent mis par Google sur la reconnaissance et la recherche d’images. Dans un brevet intitulé recherche d’images distribuée, les ingénieurs de Google donnent une représentation schématique intéressante. Le brevet est basé sur l’identification et le retour de sujets d’image qui ont des formes et des couleurs similaires à celles du sujet de l’image recherchée.
La principale raison pour laquelle Google insiste sur ce point est que les images peuvent conduire beaucoup de requêtes de recherche.
Par exemple, si vous voulez expliquer une nouvelle robe à votre amie, vous feriez mieux de sortir une photo et de la lui montrer au lieu d’essayer de décrire à quoi elle ressemble. Vous connaissez peut-être le type de robe par son nom, mais pas votre amie. C’est là que les images peuvent déclencher une compréhension rapide et permettre aux utilisateurs d’atteindre le site web de ZMOT beaucoup plus vite.
Le but premier ici est d’aider les gens à obtenir une image ou un résultat de recherche meilleur et plus précis par rapport à l’image qu’ils ont mise dans la recherche. Ainsi, si vous recherchez une image d’une chemise d’une certaine couleur, Google vous fournira des images similaires et un lien vers la page web respective de l’image.

Selon Neil Patel, plus de 10% des recherches Google sont maintenant effectuées par images.google.com. Il s’agit d’un nombre énorme et le résultat en est devenu un facteur de classement important.
Que Devraient Faire les SEOs ?
C’est une mine d’or pour les responsables SEO qui travaillent avec un site de commerce électronique. Au fur et à mesure que Google apprend à identifier les images à l’aide d’une machine, les histogrammes d’images sont également pris en compte pour trouver une meilleure image.
En d’autres termes, si vous dirigez un programme de boutique ecommerce, alors essayez d’utiliser des images pertinentes sur les pages web. Associez cela à des photos d’archives de haute qualité ou à une meilleure prise de vue et des retouches pour que les couleurs sortent de l’ordinaire. Cependant, ne changez pas les couleurs.
8. Un Retour sur les Paramètres de Classement
Google a récemment obtenu un brevet sur le classement des documents de grands ensembles de données. C’est une solution robuste au problème du spam que Google combat depuis longtemps.
Comme nous le savons tous, le nombre de backlinks est l’un des déterminants permanents des SERPs. Au fil des ans, cela a été exploité par le Black Hat SEO, que ce brevet vise à résoudre.
Comment Fonctionne Cette Technologie ?
Ce brevet met l’accent sur le fait que l’obtention d’un backlink seul n’est pas suffisant. Il surveille donc le comportement de l’utilisateur autour du lien de navigation sur une période donnée, puis en tire des conclusions. Le brevet parle d’une foule de signaux pour y parvenir.
Lorsque le comportement de navigation est déterminé, le lien reçoit une valeur qui est transmise à la page vers laquelle il est lié.
Cela peut très bien fonctionner en ce qui concerne les liens qui apparaissent sur les sites web de réseaux sociaux. C’est un autre exemple où le graphique des connaissances est validé à partir d’un grand nombre de données produites par les utilisateurs.
Que Devraient Faire les SEOs ?
Concentrez-vous sur le premier point, en créant des groupes de contenu étroitement liés. Cela vous évitera d’apparaître dans des résultats de recherche qui ne sont pas contextuels, évitant ainsi les backlinks indésirables qui sont susceptibles d’enregistrer moins d’activité de navigation comme mentionné dans le brevet.
Vous devriez également opter pour une approche ciblée afin que vos liens apparaissant sur d’autres sites reçoivent de l’activité, en envoyant du trafic naturel vers votre page.
Il faut également être prudent lors de la syndication de contenu. Envisagez l’idée d’un regroupement de contenu pour une corrélation élevée et planifiez votre campagne de syndication en conséquence.
9. Suivi des Événements dans les Vidéos et Placements Publicitaires
Les vidéos sur YouTube ou les vidéos intégrées aux pages ont émergé comme un atout de contenu important pour un grand nombre d’entreprises. Au milieu de ce tsunami vidéo, il ne suffit pas de compter le nombre total de vues d’une vidéo. Il faut donner un sens aux actions des utilisateurs qui se produisent dans les vidéos en quantifiant les données que Google est déjà en train de faire.
Le brevet pour le suivi des activités des utilisateurs et l’analyse web est axé sur l’agrégation de toutes les actions de l’utilisateur, puis le renvoi aux serveurs pour donner de la valeur au contenu vidéo et aussi placer des publicités contextuelles.

Les vidéos embarquées ont des actions utilisateur supplémentaires telles que « regarder plus tard », « partager », « activer et désactiver les sous-titres » et les « vidéos associées ».
Quelques Facteurs sur Lesquels Google Veut Recueillir des Données :
- Le nombre de clics sur la vidéo
- La durée moyenne de la vidéo regardée par les utilisateurs
- Où dans la chronologie de la vidéo les gens préfèrent-ils sauter ?
- Est-ce qu’ils regardent ou sautent les publicités ?
- Est-ce qu’ils la regardent avec des sous-titres, etc.

Google a déjà implémenté le saut à un temps précis sur la barre de recherche. Les gens prédisent et cliquent souvent sur la barre de recherche pour afficher la partie du contenu qu’ils veulent et Google aide les utilisateurs à le faire.
Ces points de données, lorsqu’ils sont combinés avec les autres métadonnées, peuvent donner des signaux forts sur le facteur d’engagement du contenu vidéo et leur alignement contextuel avec le contenu web avec lequel ils sont couplés.
Un autre brevet qui suit les objets dans le contenu des médias a également été identifié. Ce qu’il fait, c’est qu’il analyse les objets dans les médias à l’aide de l’apprentissage automatique et découvre ensuite le contexte de la recherche.
Les signaux de recherche peuvent être une pause d’image dans une vidéo, la lecture d’une partie de la chronologie du contenu multimédia et ainsi de suite. Cette question est approfondie par un autre qui effectue la reconnaissance faciale, le suivi des logos et des labels, etc., qui apparaissent dans les vidéos et les associent ensuite aux requêtes de recherche.
Que Devraient Faire les SEOs ?
Les responsables SEO devraient comprendre l’importance des vidéos comme facteur de classement qui ne fera qu’augmenter en 2020. Bien qu’il soit utile de créer plus de contenu vidéo qui capte l’attention de votre public cible, cela aura un coût. Pour les grandes entreprises qui ont les poches pleines, c’est sans aucun doute quelque chose sur quoi elles peuvent se concentrer.
Pour les petites entreprises, elles doivent créer des vidéos très attrayantes dans un budget réduit ou utiliser des vidéos d’autres utilisateurs. S’ils veulent le faire, les responsables du référencement doivent consacrer plus de temps à la recherche des vidéos et de celles qui s’aligneront avec leur contenu.
Pour ce qui est de notre expérience, nous recommandons de placer les vidéos comme une extension du contenu ou comme une connexion d’un bloc à l’idée du contenu entier.
10. Des Résultats de Recherche sur Mesure et un Accès plus Rapide
Ce système est déjà largement déployé et les résultats de la recherche sont adaptés aux préférences des utilisateurs. Le brevet intitulé « servir le contenu en fonction de l’engagement de l’utilisateur » utilise des ressources physiques pour mettre en cache et analyser l’interaction antérieure de l’utilisateur avec le contenu et ses divers éléments.
Les données sont analysées et mémorisées. La prochaine fois qu’un utilisateur recherche des requêtes similaires ou contextuelles, certains sites peuvent obtenir une meilleure position que d’autres.
Si vous voulez tester ceci, vous pouvez rechercher une requête que vous recherchez souvent et ensuite rechercher la même requête en mode incognito sur Chrome. Les résultats varieront. Les sites avec lesquels vous avez interagi auparavant viendront en tête de liste des sites avec lesquels vous n’avez pas interagi ou que vous n’avez pas ouverts. Cependant, en mode incognito, vous ne remarquerez pas cette préférence.

Le mode Incognito ne prend pas en compte votre historique de navigation passé.
Ceci est encore augmenté par l’ajout d’un brevet sur une approche plus rapide pour récupérer le contenu pré-rendu pour les résultats de recherche. En d’autres termes, si vous avez régulièrement recherché un certain nombre de mots-clés, la page de résultats de recherche apparaîtra sans délai car les préférences seront pré-rendues pour chaque utilisateur.
Que Devraient Faire les SEOs ?
La chose la plus évidente est de gagner au moins une interaction avec tous les prospects qui pourraient atterrir sur votre site. Pour ce faire, l’un des moyens les plus simples serait de se concentrer sur le marketing payant.
Créez des pages web avec le mot-clé cible et lancez ensuite des campagnes PPC ou Facebook pour un grand nombre d’utilisateurs. Ensuite, la prochaine fois qu’ils chercheront quelque chose de similaire, votre site pourrait apparaître quelques places devant votre concurrent.
Cela dit, vous voulez éviter d’attirer un trafic modéré ou un trafic non pertinent sur le site. Bien que vous souhaitiez être mieux classé, vous ne voulez pas être perçu comme non pertinent par Google en même temps.
11. Évitez d’Utiliser du Contenu Multimédia Protégé par des Droits D’auteur ou de Tierces Parties
Le plagiat de contenu a été un démon puissant pour les moteurs de recherche, les hébergeurs et d’autres entités. Voyez comment Kinsta s’est comporté avec un ferme de plagiat de contenu. Sans un contrôle du plagiat, les créateurs de contenu ne trouveraient jamais de nouveau contenu, et l’Internet ne serait jamais ce qu’il est actuellement.
Beaucoup de vols de contenu se produisent sous forme de texte, et cela est facilement identifiable. Cependant, que se passe-t-il lorsque quelqu’un vole une partie de votre vidéo ou de votre musique ou toute autre forme de contenu multimédia ? Comment le détectez-vous ? Eh bien, Google semble resserrer son emprise là-dessus.

Trouver et identifier de la musique protégée par le droit d’auteur sur YouTube existe depuis un certain temps déjà. Cependant, Google travaille d’arrache-pied pour donner maintenant les droits aux véritables créateurs du contenu. Google veut que tous les types d’utilisateurs créent du contenu multimédia et le vol de ce contenu ne sera pas toléré.
L’un des brevets de Google intitulé identifier le contenu de référence qui contient du contenu de tiers révèle une technique qui identifie le contenu protégé par le droit d’auteur ou de tiers contenu utilisé par tout utilisateur dans leur contenu. En d’autres termes, Google veut récompenser le propriétaire original du contenu tout en punissant le plagiaire.
Que Devraient Faire les SEOs ?
Évitez d’utiliser du contenu multimédia de tiers comme de la musique protégée par le droit d’auteur ou des parties de vidéos qui appartiennent à une maison de disques, etc. Achetez des vidéos et autres contenus multimédias ou créez un dépôt d’images gratuites. Mettez un concepteur au travail pour créer des itérations qui combinent des images d’archives libres, des vecteurs et des icônes. Inscrivez-vous aussi pour recevoir gratuitement de la musique en stock. Vous pouvez également contacter des artistes sur SoundCloud et leur demander la permission d’utiliser leur travail sur votre contenu. Beaucoup d’entre eux ont besoin d’être exposés et ne refuseront probablement pas votre offre.
Résumé
L’examen thématique de ces brevets suggère que Google se concentre beaucoup sur la valorisation de son propre environnement et de l’ensemble de son environnement pour les entreprises locales. Cela est possible en ajustant le graphique des connaissances, en agrégeant l’exactitude contextuelle des avis et des données géolocalisées et en validant un certain nombre de ces points de données au moyen des réseaux sociaux. Google a mis le cap sur ce chemin.
Nous croyons que le référencement local fera un retour à la fin de 2020 avec une priorité significative sur la localisation, la voix, la vidéo, les avis et les réseaux sociaux. Alors que de nombreux livrables SEO sont susceptibles de sortir en 2020, l’inclinaison stratégique des gestionnaires SEO devrait avoir un accent sur la pertinence contextuelle pour les résultats holistiques et le ROI.