SEO es un espacio caótico que demanda a que los expertos de marketing digital superen todo límite cada día. Los marketeros alrededor del mundo siempre mantienen sus dedos cruzados mientras se mantienen en un temor constante de una actualización inminente de Google o algún tipo de penalización. Cuando sus peores miedos se hacen realidad, ellos empiezan a alarmarse, intentando buscar soluciones, control de daños, tratando de restaurar el sitio a su gloria original.
Si usted es alguien que ha pasado por estas situaciones tan estresantes, este artículo puede ayudarle a ver el futuro de lo que Google está planeando para las actualizaciones de su algoritmo y prepararse por adelantado. Sin embargo, Google no siempre hace lo correcto. Aprenda como Kinsta accidentalmente tuvo una penalización manual.
Este artículo le dará la ventaja para entender los factores de SEO más críticos que definirán el panorama de SEO en el 2020. Esperamos que esto abra los ojos de todos los profesionales de SEO que quieran dejar de hacer trucos y hacks para crear SEO y estrategias de marketing digital que durarán por un mayor período de tiempo.
Metodología
Hemos analizado más de 20 patentes mayores con las que ha trabajado Google, o las que ha implementado en los últimos años. Dependiendo del tipo de tecnología, algunas de estas pueden tomar varios años para aparecer en la búsqueda de Google.
En general, hablaremos de las 11 áreas más grandes que los SEOs y mercadólogos digitales deberían poner más atención en el 2020.
- Contenido Más Aguda de Relevancia e Intención
- Ser Multilingüe en el 2019
- Apple = Apps, pero Google = Google + Apps
- Enfocarse Más en Búsquedas Basadas en Posición
- Empoderar las Comunidades Digitales e Incrementar las Reseñas de Usuarios para Búsquedas Locales
- Reconocimiento de Voz – El Método de Búsqueda del Futuro
- Optimización de Imagen y Desambiguación
- Volver a Comenzar con los Parámetros de Rankeo
- Rastrear Eventos en Videos y Posicionamiento de Anuncios
- Resultados de Búsqueda Personalizados y Acceso Más Rápido
- Evitar Utilizar Contenido con Derechos de Autor o Multimedia de Terceras Partes
1. Contenido Más Aguda de Relevancia e Intención
Si usted ha estado lidiando con SEO desde hace tiempo, es probable que ya sepa del clásico algoritmo de rankeo de página que los fundadores de Google programaron.

Algoritmo de PageRank
En estos tiempos la mayoría de nosotros estamos al tanto de que sólo una fracción del algoritmo de PageRank sigue activo para rankear páginas en el internet. El algoritmo de PR ha sido mal usado por la comunidad SEO, y Google se ha dado cuenta que necesita seguir evolucionando para proveer rankeos y contenido relevante a sus usuarios. Sin embargo, Google podría seguir usando internamente el algoritmo de PageRank.
Mientras que esto fue un esfuerzo pionera, el espacio del motor de búsqueda ha ido evolucionando desde ese entonces, con un enfoque principal en proveer resultados de búsqueda precisos. Además, una gran parte del crédito va al constante desarrollo de tecnologías patentas de la internet del departamento de Investigación y Desarrollo (R&D) de Google que ha puesto las vías para una gran experiencia de búsqueda y generar ganancias de varios millones a compañías como la suya.
Después de encontrar el mal uso del algoritmo de PageRank, Google entendió que necesitaba lidiar con la relevancia de contenido como el factor de rankeo principal. Desde entonces, Google ha ido invirtiendo una gran cantidad de tiempo para crear tecnologías que podrían conseguir una correlación relevante entre páginas según el contexto
Hablando de nuestra experiencia, hemos visto sitios que crean contenido con temas muy precisos y consiguiendo los SERPs para palabras claves mayores. Aquí es donde el énfasis en el agrupamiento de contenido entra en juego.
La patente de Google tratándose de agrupamiento de contenido envía una señal similar. El algoritmo considera principalmente un tema y luego crea una matriz de distancia de sub temas del tema principal.
De hecho, el énfasis en el agrupamiento parece ser bastante común. Es tan profundo del software de marketing de HubSpot muestra un porcentaje de correlación de un sub tema que trata sobre el tema principal.
Como ya podría saber, HubSpot fomenta a sus usuarios a crear contenido en tres niveles distintos. Mientras crea contenido en el siguiente nivel, este da un factor de correlación y le permite ver que tan cerca están conectados los temas.
Mucha gente quienes implementan la técnica de HubSpot han admitido que su tráfico y peticiones han aumentado después de seguir el método de creación de contenido que simplemente es una forma de agrupación de contenido.

La idea de una agrupación de contenido en la metodología de HubSpot. El software de marketing de HubSpot da un valor de correlación a todos los sub temas creados bajo el tema principal o el contenido pilar.
Con esta patente, Google está buscando creadores de contenido para construir contenido como agrupación con una alta correlación las cuales puedan analizar más a profundidad con métricas de interacción para premiar rankeos de relevancia.
Hay otra patente de Google que es una forma de contestar preguntar para popular la base de conocimientos la cual aparenta aumentar o soportar todo este uso de la agrupación de contenido. Google también está empoderando relevancia contextual al amalgamarlo con personalización. Uno de los ejemplos es la patente de un generador de resúmenes dinámico, el cual enfatiza la creación de distintos resúmenes de datos con respecto al usuario que es recolectado de cuentas, cookies o dispositivos.
Además de esto, el énfasis o relevancia contextual también es reflejada por una de las patentes de Google que está hecha con la idea de promover publicidad con referencia al contexto. Esta patente, de forma explicita, habla sobre promoción dentro de las páginas web, sugiriendo una conexión más estrecha y relevancia contextual del contenido.
¿Qué es lo Que Deberían Hacer los SEOs?
Enfocarse en una palabra clave y hacer mapeo de contenido y crear contenido relevante. Esto funcionará de ambas formas, por ejemplo, en SERPs y ayudando a los publicistas a ganar más con los anuncios.
2. Ser Multilingüe en el 2020
Los resultados multilingües están obteniendo mucho mayor prioridad. Mientras sigue avanzando el entorno enfocado en apps, hemos visto como Google y Apple se enfocan más en apps y búsquedas multilingües.
Mientras que Apple sólo se limita a apps, el modelo de negocios de Google, el cual ha sido creado alrededor de las búsquedas, deriva mucho de los sitios multilingües. Hoy en día, más de un 50% de la población mundial no tiene internet. Con respecto a las demográficas, estas personas probablemente estén más familiarizadas con su idioma natal en lugar que con el inglés.

Poniendo su mira en esto, Google ha sacado varias patentes que le darían más peso a sitios multilingües.
Traducción Humana Crowdsourced
Google ha obtenido una patente de tecnología web que permite al desarrollador de un sitio arbitrario, crear una opción de “opt-in para traducción humana.
Mientras que hemos recibíamos traducciones automáticas en nuestros navegadores, la aparente falta de calidad de las traducciones es muy conocida. Es por eso que Google ha invertido en tecnologías que traerían traducciones humanas para una experiencia más significativa y confiable.
No obstante, uno puedo apostar todo a las traducciones precisas, sitios y contenido multilingües en el 2020. Cheque como Kinsta ha lanzado su sitio en 10 idiomas distintos.
3. Apple = Apps, pero Google = Google + Apps
Desde que el entorno enfocado en apps se hizo popular con el iPhone, el panorama de la búsqueda también ha cambiado drásticamente. El uso de dispositivos móviles ha ido en aumento y so, ha causado un incremento en la demanda por apps móviles, como también de sitios web móviles.
Durante los primeros años hemos visto la confusión entre elegir un sitio web móvil o el hacer una app móvil. Mucha gente construye apps en lugar de sitios móviles y esperaban conseguir descargar en la app store, lo cual nunca sucedió.
De repente, la app store, con millones de apps, descubrió a ese enorme elefante en el cuarto: descubriendo apps.

El descubrimiento de apps ha sido un problema latente para Apple y Google desde hace mucho tiempo, y Google por fin, ha tomado las riendas para resolver esto y brindar un descubrimiento contextual a través de la búsqueda de Google, al igual que en la búsqueda de la app store.
Una de las patentes obtenidas por Google se enfoca en rankear las aplicaciones de la app store basado en la mención social de estas aplicaciones. La patente declara que el número de señales será analizado de los sitios de redes sociales y luego sacará una calificación para rankear las apps.
¿Qué es lo Qué Deberían Hacer los SEOs?
Ya que la patente cae en manos de Google, usted podría esperar que los resultados sean más pronunciados en la play store más que en la app store de Apple.
Por lo tanto, para los SEOs, se vuelve muy importante el enfocarse en las redes sociales y actividades de los influencers en el 2020, si la app(s) aumentan, ya será parte principal de su modelo de negocios.
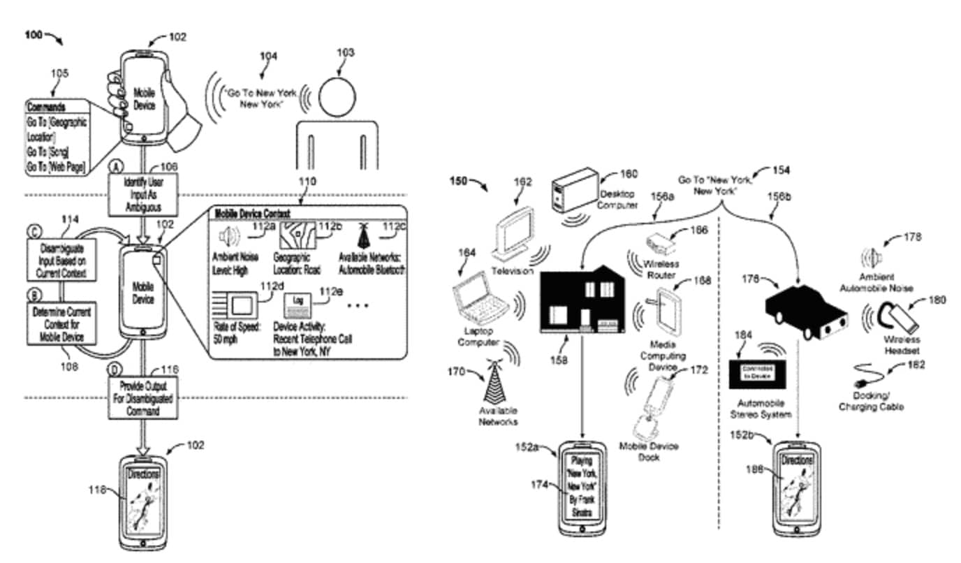
4. Enfocarse Más en Búsquedas Basadas en Posición
Hemos visto como Google se enfoca en brindar resultados de búsqueda contextual al agrupar contenido, esta siguiente patente en el ingreso desambiguo, basado en contexto, lleva la idea a otro nivel.
De acuerdo a esta patente, las peticiones de usuarios ambiguos pueden ser desambiguados con respecto a la ubicación en tiempo real del dispositivo del usuario, la velocidad actual en la que se mueve (viajando en coche, etc.), tipo de dispositivo (móvil o computadora), y otros factores.
¿Que Son las Peticiones Ambiguas?
Las peticiones ambiguas son simplemente peticiones que no tienen una intención de búsqueda clara. Una de las razones por las que muchos mercadólogos eligen las peticiones de búsquedas de long tail (muchas palabras clave) es porque tienen una búsqueda y una intención de compra clara y como resultado, un CPC (Costo por Clic) alto.

Sin embargo, Google obtiene muchas de sus peticiones de búsqueda que pueden ser muy amplias cuando se trata del contexto y tan ambiguas cuando se trata de la intención. La razón principal de estas peticiones son usuarios no calificados los cuales no tienen idea del contexto de las búsquedas que están haciendo.
Así que, por ahora, no sólo les ayudará a aprender sobre el contexto, si no también brindarles resultados contextuales incluso cuando las peticiones no son tan simples.
¿Qué Es lo Qué Deberían Hacer los SEOs?
Esto sin duda alguna entra dentro del dominio de la optimización de búsqueda local. Por lo tanto, los administradores de SEO deben tomar esto en cuenta y seguir pasando por sus checklists de SEO local junto con una lista de términos que se acercan, o por lo menos tienen una correlación con sus palabras claves objetivo.
Por ende, si usted tiene un restaurante que vende sushi en una calle transitada, es mejor que ponga su nombre en Google maps; utilice “sushi” en el nombre de su restaurante o como subtexto y consiga algunas reseñas en Google u otros sitios de reseñas. Esto nos trae al siguiente tema, reseñas de usuario.
5. Empoderar las Comunidades Digitales e Incrementar las Reseñas de Usuarios para Búsquedas Locales
Además de las peticiones desambiguas, Google ha sacado otra patente hecha para determinar atributos de entidades derivadas de las reseñas de usuario.
Aquí, la entidad puede significar cualquier sitio donde un producto pueda ser enlistado y vendido que naturalmente atrae reseñas de usuarios. Es probable que Google le de mucha importancia a las reseñas en Google que las entidades poner para beneficios de SEO locales.
La patente declara que Google probablemente esté concentrado en derivar resultados de un conjunto de metadatos que incluyen la unión de un algoritmo, hardware, y un poco de multimedia reproducible en computadoras para analizar reseñas de usuario y luego correlacionarlas con el producto o sitio web enlistado por la entidad.
Esto indirectamente significa que Google está enfocado en determinar las reseñas genuinas de usuarios que den una perspectiva del negocio confiable y verdadera. Esto también puede ser aplicable para sitios web que permiten que Google recolecte los datos de sus servidores.
Poner reseñas negativas es una práctica común. Aparte de Google, muchas otras compañías están luchando contra esta misma amenaza, que estos dependen de las reseñas para calificar a los usuarios y generar ventas. Amazon ha estado luchando contra esto desde hace mucho tiempo.

Otra patente llamada como sistema de reputación e interacción para la administración de comunidades digitales funciona en la misma línea de validar y atraer mejores datos generados por los usuarios – aún otro esfuerzo para simplificar la gráfica de conocimiento.
El objetivo de la patente es identificar a los usuarios genuinos y darles peso de acuerdo a su contribución en un foro en línea. El valor es calculado siguiendo varios factores a lo largo de variados temas. Al buscar una petición relevante, estas respuestas, páginas o enlaces recibirán mayor prioridad.
Otra forma de cumplir con esto, viene en la forma de peticiones de búsqueda aumentadas. En una de las patentes llamada como proveer resultados de búsqueda utilizando peticiones de búsqueda aumentadas, está declarado que los resultados de búsqueda están directamente correlacionados a una de las entidades (gente real). Ya que Google plus está fuera del esquema, podemos esperar que Google depende mucho más de LinkedIn para hacer esto.
¿Qué Es lo Qué Deberían Hacer los SEOs?
Si está lidiando con apps móviles, conviértase en un líder de pensamiento en los foros. Si está tratando con ecommerce, intente ser un pro en el foro de Amazon Seller y similares. Integre su equipo de tecnología en marketing para obtener mejores resultados.
Tratándose de las reseñas, entienda de que estas se convertirán en un factor importante para el SEO local en los próximos años. Por lo tanto, si está pensando en hacer SEO black hat con sus reseñas, es mejor reconsiderar está decisión.
6. Reconocimiento de Voz – El Método de Búsqueda del Futuro
Todos sabemos que Google ha estado desarrollando muchas tecnologías en el campo de reconocimiento de voz. Esto está más que claro, cuando 320 millones de usuarios están haciendo su búsqueda con su voz, tiene sentido que inviertan en esto.
Estos números no están limitados a Google. Para dejar esto claro, se debe tomar en cuenta que más de 4 millones de dispositivos de Amazon Echo han sido vendidos en estas temporadas festivas. Esto es un número considerable. De hecho, de acuerdo a Gartner, la compañía líder en investigación, declara que casi la mitad de las búsquedas serán hechas por comandos de voz en el 2020.
Viendo esta patente, podemos ver que Google quiere reconocer las palabras claves con largas líneas de comando de voz. ¿Qué sugiere esto?
Los programas de machine learning (inteligencia artificial) ya se están haciendo cargo de muchas cosas dentro del algoritmo de Google. Con la cantidad de metadatos que Google está recolectando, el proceso entero de búsqueda y consumo de contenido será extremadamente intuitivo. Esto es lo que está intentando Google con los comandos de voz.

En la página de Siri, usted puede entender claramente que estas compañías (incluyendo a Google) quieren que esta interacción de humano-maquina sea extremadamente intuitiva para que los comandos de voz sean algo común.
Con todos estos asistentes de voz, las compañías, sean Amazon, Apple o Google, quieren que conversemos con estos servicios de voz como si fueran humanos. Sin embargo, para que Google resalte los resultados relevantes, aún necesitaría algunos puntos de datos, como las palabras clave, para hacer más preciso el contexto y brindar resultados más concisos. Esto es lo que está intentando la patente de Google.

¿Qué Es lo Qué Deberían Hacer los SEOs?
Ya que muchas peticiones transaccionales son naturalmente atraídas a Amazon, y considerando de que están vendiendo muchos Echos, Google quiere dejar en orden esto en los próximos años. Por lo tanto, los administradores de SEO deben enfocarse en optimizar sus sitios con la perspectiva de búsqueda con comando de voz para el 2020.
7. Optimización de Imagen y Desambiguación
Google ha ordenado una patente para contextualizar peticiones desambiguas en las cuales el usuario pueda pedirle directamente al servicio de búsqueda que le de información sobre una imagen que están viendo actualmente en su dispositivo, en tiempo real.

Tal cual, este creará peticiones contextuales desambiguas donde el servicio de búsqueda marcará al repositorio por sub-imágenes y luego dará una nota de voz – diciendo al usuario sobre los objetos que se encuentra viendo actualmente y lo que son estos objetos.
Podemos asumir que una capa aumentada de actividad también podría tomar control sobre su pantalla para un acceso fácil a la información sobre el objeto que está siendo visto. Esto es porque actualmente Android 8 y 9 están siendo diseñados con esto en mente.

Tratándose de precisión visual y UX, Google ya tienen su principio de diseño de material definido para respaldar esto.
El Propósito de la Patente de Búsqueda de Imagen Distribuida
Hay otra patente que reafirma el enfoque que tiene Google sobre el reconocimiento y búsqueda de imágenes. En una patente llamada como búsqueda de imagen distribuida, los ingenieros de Google dan una representación de esquemática interesante. La patente está basada en identificar y regresar temas de imagen que tengan formas y colores similares como los del tema de una imagen que está siendo buscada.
La razón principal de que Google está enfatizando este punto es que las imágenes pueden llevar a que se hagan muchas peticiones de búsqueda.
Por ejemplo, si quiere explicar un nuevo vestido a su amiga, uno siempre puede sacar una foto y mostrársela en lugar de intentar describir como luce. Podría saber el tipo de vestido por su nombre, pero su amiga quizás no. Aquí es donde las imágenes activan un rápido entendimiento y les permite a los usuarios alcanzar el ZMOT (The zero moment of truth macro study) mucho más rápido.
El objetivo principal aquí es ayudar a la gente a alcanzar un mejor y más preciso resultado con respecto a la imagen que han puesto en su búsqueda. Así, si usted busca una imagen de una playera de cierto color, Google podrá dar imágenes similar y darle un enlace a la respectiva página de donde consiguieron esa imagen.

De acuerdo a Neil Patel, más de un 10% de las búsquedas de Google están siendo dirigidas por images.google.com. Esto es un gran número y un resultado por el que también se ha convertido en un importante factor de rankeo.
¿Qué Es lo Qué Deberían Hacer los SEOs?
Esto es una mina de oro para los administradores de SEO quienes trabajan con un sitio de ecommerce. En lo que Google junta el machine learning para identificar imágenes, los histogramas de imagen también están siendo considerados para encontrar una mejor imagen.
En otras palabras, si usted tiene una tienda de ecommerce, intente utilizar imágenes relevantes en sus páginas web. Junte esto con fotos de alta calidad o una mejor edición de foto para que los colores resalten. Sin embargo, no cambie los colores.
8. Volver a Comenzar con los Parámetros de Rankeo
Google recientemente obtuvo una patente sobre el rankeo de documentos en grandes conjuntos de datos. Es una robusta solución para el problema del spam con el que ha luchado Google por un largo tiempo.
Como ya todos sabemos, el número de backlinks que uno tenga es uno de los determinantes permanentes de SERPs. Con los años, esto ha sido mal usado por el black hat SEO (malas prácticas de SEO), y esto es lo que intenta resolver la patente.
¿Cómo Funciona Esta Tecnología?
Esta patente se enfoca en el hecho de que tener backlinks nada más, no es suficiente. Por lo tanto, lo que hace es que esta tecnología monitorea el comportamiento del usuario a través de este enlace de navegación durante un periodo de tiempo y luego deriva las inferencias. Esta patente habla sobre un conjunto de señales para lograr esto.
Cuando el comportamiento de navegación es determinado, el enlace recibirá un valor, el cual es pasado a la página a la que hace enlace.
Esto puede funcionar muy bien con respecto a enlaces que aparecen en los sitios de redes sociales. Esto es otro ejemplo donde la gráfica de conocimiento está siendo validada de grandes conjuntos de datos producidos por los usuarios.
¿Qué Es lo Qué Deberían Hacer los SEOs?
Enfocarse en el primer punto, creando grupos de contenido muy especifico. Esto prevendrá que usted aparezca en los resultados de las búsquedas que no tienen contexto, evitando conseguir backlinks no deseados que probablemente registren algo de actividad de navegación como es mencionado en la patente.
También debería ir por un enfoque de alcance enfocado para que los enlaces que aparezcan en otros sitios reciban actividad, mandando tráfico natural a su página.
Uno debería tener cuidado cuando uno haga sindicación de contenido. Considere la idea de agrupar contenido para una alta correlación y planea su campaña de sindicación de acuerdo a esto.
9. Rastrear Eventos en Videos y Posicionamiento de Anuncios
Los videos en YouTube o videos integrados en las páginas han emergido como un bien de contenido importante para un gran número de compañías. En medio de este tsunami de videos, no es suficiente sólo contar el número total de vistas en un video. Uno tiene que tomar sentido de las acciones del usuario que suceden dentro de los videos al cuantificar los datos, algo que ya está haciendo Google.
La patente para rastrear las actividades del usuario y brindar web analytics se enfoca en agregar todas las acciones del usuario y regresárselas a los servidores para darle valor al contenido del video y también colocar anuncios contextuales.

Los videos integrados tienen acciones adicionales de usuario como, “ver después”, “compartir”, “activar o desactivar los subtítulos” y “videos relacionados”.
Algunos Factores de los Cuales Google Quiere Conseguir Datos:
- El número de clics en el video
- La duración promedio del video que es visto por los usuarios
- ¿En que parte de la línea del tiempo del video la gente usualmente se salta?
- ¿Están viendo o quitando los anuncios?
- ¿Lo están viendo con subtítulos, etc?

Google ya ha implementado la opción de poderse saltar a un tiempo en especifico en la barra de búsqueda. La gente usualmente predice y da clic en la barra de búsqueda para ver la parte del contenido que quieren y Google está ayudando a la gente para que puedan hacer esto.
Estos puntos de dato, cuando son combinados con otros metadatos, pueden dar fuertes señales sobre el factor de interacción del contenido del video y su alineación contextual con el contenido web con el que está siendo emparejado.
Otra patente que rastrea objetos dentro del contenido también ha sido identificada. Lo que hace es que analiza los objetos dentro del video con ayuda de un machine learning y luego encuentra el contexto de la búsqueda.
Las señales de búsqueda podrían ser una imagen pausada en el video, una reproducción a una porción dentro de la línea del tiempo del contenido multimedia y otros casos similares. Esto es llevado a otro nivel con otra patente que usa reconocimiento facial, identifica logos, marcas, etc. Que aparezcan en los videos y relaciona estos a peticiones de búsqueda.
¿Qué Es lo Qué Deberían Hacer los SEOs?
Los administradores de SEO deberían entender la importancia de los videos como un factor de rankeo el cual sólo irá incrementando en el 2020. Mientras que crear más contenido en video para atraer a su audiencia objetivo es una sugerencia útil, esto vendrá con un costo. Para las grandes compañías con dinero, esto es algo que podrán hacer sin problema alguno.
Pero para las pequeñas compañías, necesitan crear videos que llamen mucho la atención usando un presupuesto más bajo o utilizar videos de otros usuarios. Si quieren hacer esto, los administradores de SEO deben dedicar más tiempo encontrando videos y cuales se alinearán con su contenido.
Con toda la experiencia que tenemos, nosotros recomendamos poner videos como una extensión de contenido o la de conectar un bloque a toda la idea del contenido.
10. Resultados de Búsqueda Personalizados y Acceso Más Rápido
Esto ya se ha alargado bastante, y los resultados de búsqueda son resultado de las preferencias del usuario. La patente llamada como “servir contenido basado en la interacción del usuario” utiliza recursos físicos para guardar en el caché y analizar la interacción previa del usuario con el contenido y varios elementos.
Los datos son analizados y recordados. La próxima vez que un usuario busque algo similar o tenga peticiones contextualmente relacionadas, algunos sitios podrían tener una mejor posición que otros.
Si quiere poner a prueba esto, puede buscar una petición que normalmente busca y luego buscar la misma petición en modo incognito de Chrome. Los resultados serán distintos. Los sitios con los que ha interactuado saldrán hasta arriba a diferencia de los sitios con los que no ha interactuado con anterioridad o no ha entrado. Sin embargo, en modo incognito, no notará esta preferencia.

El modo incognito no considera su historial de navegación pasado.
Esto es aumentado aún más por la patente para tener una reacción más acelerado para conseguir contenido pre cargado para los resultados de búsqueda. En otras palabras, si ya ha buscado cierto número de palabras clave muy seguido, la página de resultados aparecerá en muy poco tiempo ya que las preferencias serán pre cargadas para usuarios individuales.
¿Qué Es lo Qué Deberían Hacer los SEOs?
Lo más obvio sería por lo menos ganar una interacción con todos los prospectos posibles que podrían llegar a su sitio. Para hacer esto, una de las formas más simples sería enfocarse en marketing de paga.
Cree páginas web con la palabra clave objetico y luego use un PPC o campañas de Facebook para conseguir un gran número de usuario. Luego, la próxima vez que busquen algo similar, si sitio podría aparecer unas posiciones arriba de su competencia.
Habiendo dicho esto, usted querrá evitar atraer un tráfico moderado o tráfico irrelevante al sitio. Mientras su objetivo es tener una mejor posición, no querrá parecer irrelevante ante los ojos de Google.
11. Evitar Utilizar Contenido con Derechos de Autor o Multimedia de Terceras Partes
El plagio de contenido ha sido un poderoso demonio para los motores de búsqueda, proveedores de hosting y otras entidades. Cheque como Kinsta se pudo hacer cargo del robo de contenido. Si no ponemos un límite a los plagios, los creadores de contenido jamás tendrían nuevo contenido, y el internet jamás sería lo que es hoy.
Mucho del robo de contenido sucede en forma de texto, y esto es fácil de identificar. Sin embargo, ¿qué pasa cuando alguien se roba una porción de su video o música en cualquier forma de contenido multimedia? ¿Cómo puede detectar eso? Bueno, al parecer Google ya ha empezado a ser más estricto con eso.

El encontrar e identificar música con derechos de autor en YouTube ha estado desde hace un buen rato. Sin embargo, Google ahora está trabajando a toda maquina para darle derechos a los verdaderos creados de contenido. Google quiere que todo tipo de usuario haga contenido multimedia y el robar contenido no será tolerado.
Una de las patentes de Google llamada identificar contenido de referencia que contenga contenido ajeno revela una técnica que identifica contenido con derechos de autor o de terceros usado por un usuario en su contenido. En otras palabras, Google quiere recompensar al dueño original del contenido mientras castiga al plagiador.
¿Qué Es lo Qué Deberían Hacer los SEOs?
Evitar usar contenido multimedia ajeno como música con derechos de autor o porciones de videos que pertenecen a un sello discográfico, etc. Compre videos de stock y otro contenido multimedia o cree un repositorio de imágenes gratuitas de stock. Ponga a un diseñador a trabajar para crear iteraciones que combinen imágenes de stock, vectores e iconos gratuitos. También, inscríbase a un servicio gratuito de música de stock. También se puede poner en contacto con los artistas en SoundCloud y pedirles permiso para usar su trabajo en su contenido. Muchos de ellos necesitan esa exposición y probablemente no se nieguen a su oferta.
Resumen
Temáticamente ver estas patentes sugiere que Google se está enfocando en hacerse a sí mismo y a todo su entorno en algo más valioso para los negocios locales. Esto es posible al arreglar un poco la gráfica de conocimiento, una mejor precisión contextual de las reseñas, datos basados en ubicación, y validando los números de estos puntos de datos usando redes sociales. Google ya ha puesto todo esto en marcha.
Nosotros creemos que el SEO local regresará con toda fuerza en el 2020 con una prioridad significativa en ubicación, voz, video, reseñas, y redes sociales. Mientras que muchos productos de SEO probablemente salgan en el 2020, la inclinación estratégica de los administradores de SEO debería tener un enfoque muy preciso en relevancia contextual para resultados holísticos y de rentabilidad