SEO é um espaço caótico que exige que especialistas em marketing digital empurrem os limites a cada dia. Os SEOs do mundo todo sempre fazem figas, pois são constantemente assombrados pelo medo de uma atualização iminente do Google ou de outro tipo de penalidade. Quando seu pior medo se torna realidade, eles entram em um frenesi, tentando encontrar consertos, fazendo controle de danos, tentando restaurar o site a sua glória anterior.
Se você é alguém que já passou por situações tão tensas, este post pode ajudá-lo a prever o que o Google está planejando para suas futuras atualizações de algoritmos e preparar-se com antecedência. No entanto, o Google nem sempre está certo. Verifique como Kinsta foi acidentalmente penalizado manualmente.
Este post lhe dará um avanço na compreensão dos fatores SEO mais críticos que definirão o cenário SEO em 2020. Espera-se que isto seja uma abertura para os profissionais de SEO que querem ir além de truques e hacks para criar estratégias de SEO e marketing digital que teriam um efeito duradouro.
Metodologia
Analisamos mais de 20 patentes importantes nas quais o Google tem trabalhado, ou que foram implementadas nos últimos anos. Dependendo do tipo de tecnologia, algumas delas podem levar anos para realmente aparecerem na pesquisa do Google.
No total, apontaremos 11 grandes áreas às quais os profissionais de SEO e de marketing digital devem prestar muita atenção em 2020.
- Relevância e intenção de conteúdo mais nítido
- Ir Multilíngüe em 2019
- Apple = Apps, mas Google = Google + Apps
- Destaque na pesquisa com base na localização
- Dê poder às comunidades online e aumente as revisões dos usuários para a pesquisa local
- Reconhecimento da fala – O modo de busca do futuro
- Otimização e Desambiguação da Imagem
- Uma retomada dos parâmetros de classificação
- Rastreamento de eventos em vídeos e ad-placement
- Resultados de pesquisa feitos sob medida e acesso mais rápido
- Evite o uso de conteúdo multimídia protegido por direitos autorais ou de terceiros
1. Relevância e intenção de conteúdo mais nítido
Se você está lidando com SEO há algum tempo, talvez já esteja ciente do clássico algoritmo de classificação de páginas que os fundadores do Google escreveram.

Algoritmo PageRank
A maioria de nós estamos cientes de que apenas uma fração do algoritmo PageRank permanece ativa para classificar as páginas web hoje em dia. O algoritmo PR foi mal utilizado pela comunidade SEO, e o Google percebeu que precisava evoluir continuamente para fornecer rankings e conteúdos relevantes a seus usuários. Entretanto, o Google ainda pode estar usando o algoritmo PageRank internamente.
Embora esse tenha sido um esforço pioneiro, o espaço do mecanismo de busca evoluiu desde então com um foco principal no fornecimento de resultados de busca precisos. Além disso, uma grande parte do crédito vai para a contínua P&D do Google no desenvolvimento de tecnologias patenteadas de internet que abriram o caminho para uma grande experiência de busca e impulsionaram a receita de milhões de empresas como a sua.
Depois de encontrar o uso indevido e desenfreado do algoritmo PageRank, o Google entendeu a necessidade de avaliar a relevância do conteúdo como o principal fator de classificação. Desde então, o Google tem investido uma quantidade significativa de tempo para criar tecnologias que pudessem desenhar uma correlação relevante entre páginas relativas ao contexto.
Quanto à nossa experiência, temos visto websites que criam conteúdo com tópicos estreitamente tricotados e que lideram os SERPs para as principais palavras-chave. É aqui que entra em jogo a ênfase no agrupamento de conteúdo.
A patente do Google sobre clustering de conteúdo envia um sinal semelhante. O algoritmo considera primeiramente um tópico e depois cria uma matriz de subtópicos à distância a partir do tópico principal. Quanto mais próximos os subtópicos estiverem do tópico principal, melhores serão suas chances de aparecer nos resultados da pesquisa.
Na verdade, a ênfase no agrupamento parece ser bastante comum. É tão profundo que o software de marketing do HubSpot mostra uma porcentagem de correlação de um subtópico em relação ao tópico principal.
Como você deve saber, a HubSpot incentiva seus usuários a criar conteúdo em três níveis diferentes. Ao criar um tópico no próximo nível, ele dá um fator de correlação e permite que você veja o quão próximo os tópicos estariam conectados.
Muitas pessoas que implementaram a técnica do HubSpot admitiram que seu tráfego e consultas aumentaram depois de seguir o método de criação de conteúdo que não é nada além de uma forma de agrupamento de conteúdo.

A idéia de um cluster de conteúdo na metodologia HubSpot. O software de marketing da HubSpot dá um valor de correlação a todos os subtópicos criados sob um tópico principal ou conteúdo de pilar.
Com esta patente, o Google está procurando criadores de conteúdo para construir conteúdo como clusters com alta correlação que eles possam analisar com métricas de engajamento para conceder rankings relevantes.
Há outra patente do Google intitulada como perguntas que respondem à base de conhecimento povoada que parece aumentar ou apoiar todo este exercício de clusters de conteúdo. O Google também está fortalecendo a relevância contextual, amalgamando-a com a personalização. Um dos exemplos é a patente de um gerador de resumo dinâmico, que enfatiza a criação de diferentes resumos de dados com respeito ao usuário que são obtidos a partir de contas, cookies ou dispositivos.
Além disso, a ênfase na relevância contextual também é refletida por uma patente do Google que é construída em torno da promoção de anúncios com referência ao contexto. A patente fala explicitamente sobre promoção dentro das páginas web, sugerindo uma conexão mais próxima e relevância contextual do conteúdo.
O que os SEOs devem fazer?
Foco no mapeamento de palavras-chave e conteúdo e criar conteúdo relevante. Isto vai funcionar nos dois sentidos, ou seja, nos SERPs e ajudando os editores a ganhar mais com os anúncios.
2. Tornar-se Multilíngue em 2020
Os resultados da pesquisa multilíngue estão ganhando muita prioridade. À medida que o ambiente baseado em aplicativos ganhou impulso, vimos tanto o Google quanto a Apple darem mais ênfase aos aplicativos e pesquisas multilíngües.
Enquanto a Apple está limitada a aplicativos, o modelo de negócios do Google, que é construído em torno da busca, deriva muito de sites multilíngues. Até agora, mais de 50% da população mundial não tem internet. Com relação à demografia, é mais provável que essas pessoas estejam familiarizadas com seu idioma nativo em vez do inglês.

Visando isso, o Google lançou uma série de patentes que dariam mais peso a sites multilíngues.
Tradução Humana de Origem Multidisciplinar
O Google recebeu uma patente sobre uma tecnologia web que permite ao desenvolvedor de um site arbitrário criar uma opção “opt-in” para tradução humana.
Embora tenhamos recebido tradução por máquina em nossos navegadores, a aparente falta de qualidade das traduções é bem conhecida. É por isso que o Google está agora investindo em tecnologias que trariam a tradução humana para uma experiência mais significativa e confiável.
No entanto, você pode apostar muito em traduções precisas, sites multilíngues e conteúdo em 2020. Veja como a Kinsta lançou seu site em 10 idiomas diferentes.
3. Apple = Apps, mas Google = Google + Apps
Desde que o ambiente de aplicativos se tornou mainstream com o iPhone, o cenário de busca também mudou drasticamente. O uso móvel aumentou e isso, por sua vez, aumentou a demanda de aplicativos móveis, bem como de sites móveis.
Durante os anos anteriores, temos visto confusão entre escolher um site móvel ou fazer um aplicativo móvel. Muitas pessoas construíram aplicativos em vez de um site móvel e esperaram por downloads na loja de aplicativos, o que nunca aconteceu.
De repente, a loja de aplicativos com milhões de aplicativos descobriu um elefante gigante na sala: a descoberta de aplicativos.

A descoberta de aplicativos tem sido uma questão persistente tanto para a Apple quanto para o Google há muito tempo, e o Google finalmente tomou a liderança para resolver isso e fornecer descoberta contextual através da busca no Google, bem como a busca em lojas de aplicativos.
Uma das patentes concedidas ao Google enfatiza a classificação dos pedidos de lojas de aplicativos com base na menção social desses pedidos. A patente afirma que uma série de sinais será analisada a partir de sites de mídia social e, em seguida, uma pontuação composta é gerada para classificar os aplicativos.
O que os SEOs devem fazer?
Uma vez que a patente está no Google, você pode esperar que os resultados sejam mais pronunciados na loja de jogos do que na loja Apple App.
Portanto, para os SEOs, torna-se importante focar nas mídias sociais e atividades de influência em 2020, se o(s) aplicativo(s) aumentar(em), já está(ão) no centro do seu modelo de negócios.
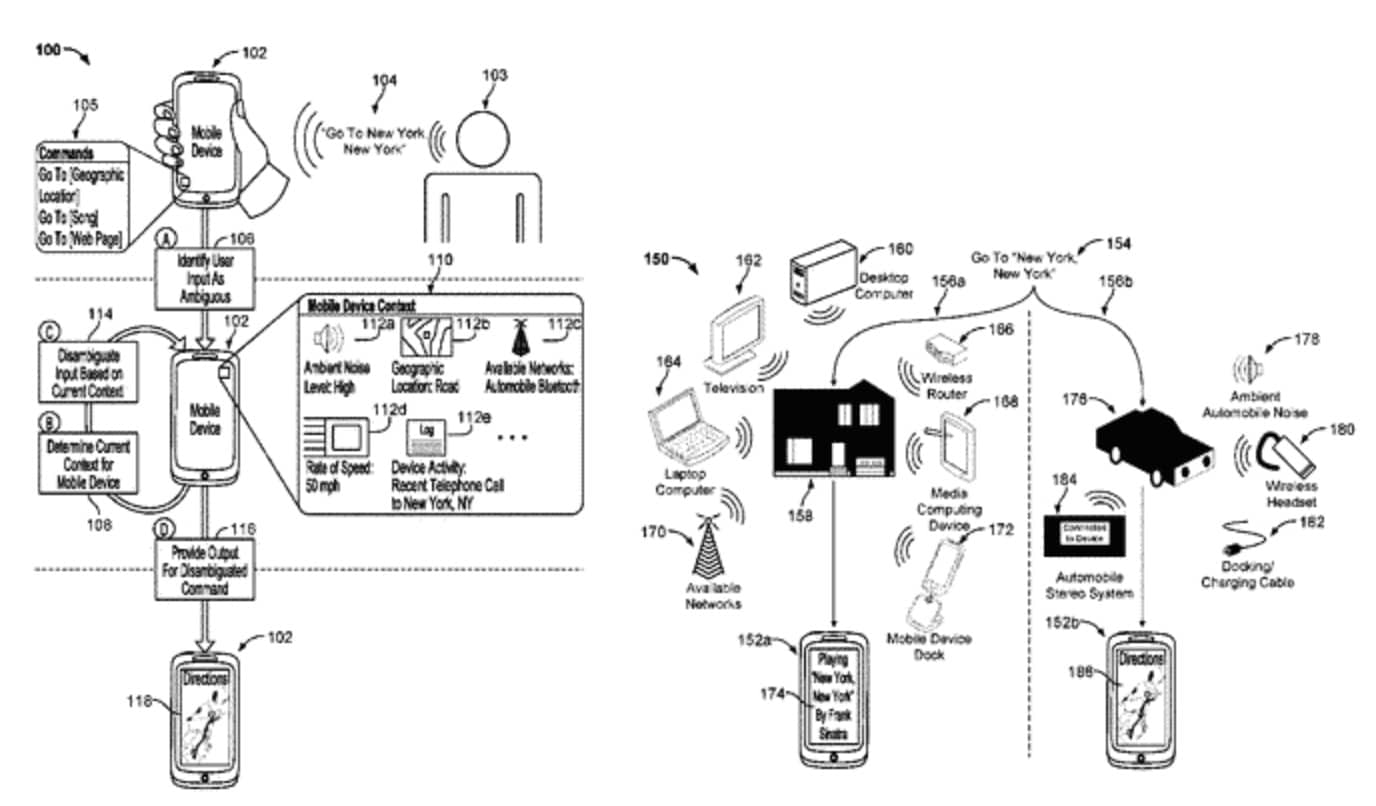
4. Destaque na pesquisa com base na localização
Vimos como o Google está se concentrando em fornecer resultados de pesquisa contextual por agrupamento de conteúdo, esta patente seguinte sobre a entrada de dados sem ambigüidades, baseada no contexto, leva a idéia a um nível totalmente novo.
De acordo com esta patente, consultas ambíguas do usuário podem ser desambiguadas com relação à localização em tempo real do dispositivo do usuário, a velocidade em que o usuário está se movendo (viajando em um carro, etc.), tipo de dispositivo (móvel ou desktop), e outros fatores.
O que são consultas ambíguas?
Consultas ambíguas não são mais do que consultas que geralmente não têm uma intenção clara de busca. Uma das razões pelas quais muitos marqueteiros vão atrás de longas buscas é porque eles têm uma clara intenção de busca e compra e como resultado, um CPC elevado também.

No entanto, o Google recebe muitas consultas de busca que podem ser amplas em relação ao contexto e ambíguas no que diz respeito à intenção. A principal razão para essas consultas é a existência de usuários não qualificados que podem não estar cientes do contexto da pesquisa em si.
Portanto, agora, o Google não só os ajudará a aprender sobre o contexto, mas também lhes fornecerá resultados contextuais, mesmo quando as consultas não forem tão simplificadas.
O que os SEOs devem fazer?
Isto sem dúvida se enquadra no domínio de uma otimização de busca local. Portanto, os gerentes de SEO devem levar isto em consideração e manter sua execução através de sua lista de verificação local de SEO junto com uma lista de termos amplos que fazem fronteira, ou tem uma correlação com suas palavras-chave alvo.
Portanto, se você é um restaurante que vende sushi em uma rua movimentada, é melhor colocar seu nome no Google maps; use “sushi” no nome ou subtexto de seu restaurante e atraia algumas críticas no Google ou em outros sites de críticas. Isto nos leva ao próximo tópico, resenhas de usuários.
5. Capacitar comunidades on-line e aumentar as revisões genuínas dos usuários para dominar a pesquisa local
Além de esclarecer dúvidas, o Google criou outra patente destinada a determinar os atributos das entidades derivadas das revisões dos usuários.
Aqui, a entidade pode significar qualquer website onde um produto possa ser listado e vendido que naturalmente atraia as opiniões dos usuários. É provável que o Google pague uma grande importância nos comentários do Google que as entidades listam para benefícios locais do SEO.
A patente afirma que é provável que o Google se concentre em obter resultados a partir de um conjunto de metadados que inclui a união de um algoritmo, hardware e um pedaço de mídia legível por computador para analisar as revisões dos usuários e depois correlacioná-lo com o produto ou website listado pela entidade.
Isto significa indiretamente que o Google está focado em determinar as revisões genuínas dos usuários que dão uma visão confiável e verdadeira sobre qualquer negócio. Isto também pode ser aplicável a websites que permitem ao Google coletar seus dados de seus servidores.
As revisões negativas de dumping são uma prática comum. Além do Google, muitas outras empresas estão lutando contra a mesma ameaça que depende das revisões para qualificar os usuários e gerar vendas. A Amazon já vem quebrando-os há algum tempo.

Outra patente intitulada como sistema de reputação e engajamento para gestão de comunidades online trabalha na mesma linha de validação e atração de melhores dados gerados pelo usuário – mais um esforço para racionalizar o gráfico de conhecimento.
A patente visa identificar os usuários genuínos e lhes dá um peso de acordo com sua contribuição em um fórum on-line. O valor é calculado sobre uma série de fatores em uma série de tópicos. Ao pesquisar uma consulta relevante, essas respostas, páginas ou links terão prioridade.
Outra forma de conseguir isso vem na forma de consultas de busca ampliadas. Em uma das patentes nomeadas como fornecendo resultados de pesquisa usando consultas de pesquisa aumentada, é declarado que os resultados da pesquisa estão diretamente correlacionados a uma das entidades (pessoas reais). Como o Google plus está fora do caminho, podemos esperar que o Google confie muito no LinkedIn para fazer isso.
O que os SEOs devem fazer?
Se você estiver lidando com aplicativos móveis, torne-se um líder de pensamento nos fóruns. Se você estiver lidando com comércio eletrônico, tente tornar-se um profissional no fórum Amazon Seller e do mesmo modo. Integre sua equipe técnica em marketing para obter melhores resultados.
Em relação às revisões, entenda que se tornará um fator importante para a SEO local nos próximos anos. Portanto, se você estiver pensando em SEO de chapéu preto com revisões, é melhor reconsiderar sua decisão.
6. Reconhecimento da fala – O modo de busca do futuro
Todos sabemos que o Google tem desenvolvido muitas tecnologias no campo do reconhecimento da fala. Além disso, por que não, quando 320 milhões de usuários estão pesquisando usando a busca por voz, faz muito sentido investir nesta área.
Os números não estão limitados apenas ao Google. Para o registro, deve-se observar que mais de 4 milhões de dispositivos Amazon Echo estão sendo vendidos a cada estação festiva. Esse é um número considerável. De fato, de acordo com Gartner, a empresa líder mundial em pesquisa, quase metade das buscas será feita usando a voz até 2020.
Olhando para a patente, podemos ver que o Google quer reconhecer palavras-chave dentro de longas linhas de fala. O que ele sugere?
Os programas de aprendizagem de máquinas estão agora lidando com muitas coisas dentro do algoritmo do Google. Com a quantidade de metadados que o Google está coletando, todo o processo de busca e consumo do conteúdo vai ser extremamente intuitivo. Isto é exatamente o que o Google está tentando alcançar com a fala.

Na página web da Siri, você pode entender claramente que estas empresas (incluindo o Google) querem que a interação homem-máquina seja extremamente intuitiva para que a busca por voz se torne a principal atividade.
Com todos esses assistentes de voz, as empresas, seja a Amazon, Apple ou Google, na verdade querem que conversemos com os serviços de voz como se fossem humanos. Entretanto, para que o Google aponte resultados relevantes, ele ainda precisaria de alguns pontos de dados, tais como palavras-chave, para restringir o contexto e fornecer resultados precisos. Isto é o que a patente do Google está tentando realizar.

O que os SEOs devem fazer?
Uma vez que muitas consultas transacionais são naturalmente atraídas pela Amazon, e eles estão vendendo muitos ecos, o Google gostaria de resolver isso nos próximos dois anos. Portanto, os gerentes de SEO devem se concentrar na otimização de seus sites com a perspectiva de busca por voz em 2020.
7. Otimização e Desambiguação da Imagem
O Google registrou uma patente sobre consultas contextualmente desambiguantes na qual um usuário pode solicitar diretamente ao serviço de busca informações sobre uma imagem que está vendo atualmente em seu dispositivo, em tempo real.

Como colocado, isto criará consultas contextualmente desambiguantes onde o serviço de busca discará o repositório de sub-imagens e então dará uma saída de voz – dizendo ao usuário sobre os objetos que estão vendo atualmente e quais são realmente os objetos.
Podemos assumir que uma camada aumentada de atividade também pode tomar conta da tela para facilitar o acesso às informações sobre o objeto que está sendo visto. Isto ocorre porque os atuais Android 8 e 9 são construídos fortemente sobre isso.

No que diz respeito à precisão visual e ao UX, o Google já tem seu princípio de design de material bem definido para apoiá-lo.
O propósito da patente de busca de imagem distribuída
Há outra patente que reafirma o foco do Google no reconhecimento e nas buscas de imagens. Em uma patente intitulada como busca distribuída de imagens, os engenheiros do Google dão uma representação esquemática interessante. A patente é baseada na identificação e retorno de assuntos de imagem que têm formas e cores similares ao assunto de uma imagem que está sendo pesquisada.
A principal razão pela qual o Google está enfatizando este ponto é que as imagens podem conduzir a muitas consultas de pesquisa.
Por exemplo, se você quiser explicar um vestido novo ao seu amigo, é melhor tirar uma foto e mostrá-la em vez de tentar descrever o seu aspecto. Você pode conhecer o tipo de vestido por seu nome, mas seu amigo não. É aqui que as imagens podem desencadear uma rápida compreensão e permitir que os usuários cheguem ao ZMOT muito mais rápido.
O principal objetivo aqui é ajudar as pessoas a alcançar uma imagem/resultado de busca melhor e mais preciso em relação à imagem que colocaram na busca. Assim, se você procurar por uma imagem de uma camisa de determinada cor, o Google fornecerá imagens semelhantes e um link para a respectiva página da web de onde eles guardam a imagem.

De acordo com Neil Patel, mais de 10% das buscas no Google estão agora sendo conduzidas por images.google.com. Este é um número enorme e um resultado que se tornou um importante fator de classificação também.
O que os SEOs devem fazer?
Esta é uma mina de ouro para gerentes de SEO que estão trabalhando com um site de comércio eletrônico. Como o Google aprende a identificar imagens, os histogramas de imagem também são considerados para encontrar uma imagem melhor.
Em outras palavras, se você estiver administrando uma loja de comércio eletrônico, então tente usar imagens relevantes em páginas da web. Par que com fotos de estoque de alta qualidade ou um photoshoot e edição melhor para que as cores apareçam. No entanto, não altere as cores.
8. A Retomada dos Parâmetros de Ranking
O Google recebeu recentemente uma patente sobre a classificação de documentos em grandes conjuntos de dados. É uma solução robusta para o problema do spam que o Google vem lutando há muito tempo.
Como todos sabemos, o número de backlinks que se tem é um dos determinantes permanentes dos SERPs. Ao longo dos anos, ele tem sido explorado pela Black Hat SEO, que esta patente visa resolver.
Como funciona esta tecnologia?
Esta patente se concentra no fato de que não basta ter um backlink sozinho. Portanto, o que ela faz é monitorar o comportamento do usuário ao redor do link de navegação durante um período e, em seguida, derivar inferências. A patente fala de uma série de sinais para conseguir isso.
Quando o comportamento de navegação é determinado, então o link é dado um valor que é passado para a página para a qual está ligando.
Isto pode funcionar muito bem com relação aos links que aparecem nos sites de mídia social. Este é outro exemplo em que o gráfico de conhecimento está sendo validado a partir de um grande conjunto de dados produzidos pelos usuários.
O que os gerentes de SEO devem fazer?
Concentre-se no primeiro ponto, criando clusters de conteúdo de malha apertada. Isto vai evitar que você apareça em resultados de busca que não sejam contextuais, evitando backlinks indesejados que provavelmente registrarão menos atividade de navegação, como mencionado na patente.
Você também deve ir para um alcance específico para que seus links que aparecem em outros sites recebam atividade, enviando tráfego natural para sua página.
Deve-se ter cuidado também ao fazer a sindicação de conteúdo. Considere a idéia de agrupamento de conteúdo para alta correlação e planeje sua campanha de sindicação de acordo.
9. Rastreamento de eventos em vídeos e ad-placement
Vídeos no YouTube ou vídeos incorporados em páginas surgiram como um importante ativo de conteúdo para um grande número de empresas. Em meio a este tsunami de vídeo, não basta contar apenas o número total de visualizações em um vídeo. É preciso dar sentido às ações dos usuários que acontecem dentro dos vídeos, quantificando os dados que o Google já está fazendo.
A patente para rastrear as atividades do usuário e fornecer análises da web está focada em agregar todas as ações do usuário e, em seguida, alimentá-lo de volta aos servidores para dar valor ao conteúdo do vídeo e também colocar anúncios contextuais.

Os vídeos incorporados têm ações adicionais do usuário, como “assistir mais tarde”, “compartilhar”, “subtítulo ligado e desligado” e “vídeos relacionados”.
Alguns fatores nos quais o Google deseja coletar dados:
- O número de cliques no vídeo
- A duração média do vídeo assistido pelos usuários
- Onde na linha do tempo do vídeo as pessoas preferem pular?
- Eles estão assistindo ou pulando os anúncios?
- Eles estão vendo com legendas, etc.?

O Google já implementou a pular para um horário na barra de busca. As pessoas costumam prever e clicar na barra de busca para ver a parte do conteúdo que desejam e o Google está ajudando os usuários a fazer isso.
Estes pontos de dados, quando combinados com os outros metadados, podem dar fortes sinais sobre o fator de engajamento do conteúdo de vídeo e seu alinhamento contextual com o conteúdo da web com o qual estão emparelhados.
Outra patente que rastreia objetos dentro do conteúdo da mídia também foi identificada. O que ela faz é analisar os objetos dentro da mídia com a ajuda da aprendizagem da máquina e depois descobre o contexto da busca.
Os sinais de busca podem ser uma pausa de quadro em um vídeo, reprodução para uma parte dentro da linha de tempo do conteúdo multimídia e assim por diante. Isto é levado adiante por outra patente que realiza o reconhecimento facial, rastreamento de logotipos e rótulos, etc., que aparecem nos vídeos e depois os relaciona com as consultas de busca.
O que os SEOs devem fazer?
Os gerentes de SEO devem entender a importância dos vídeos como um fator de classificação que só vai aumentar em 2020. Embora fazer mais conteúdo de vídeo que esteja engajando seu público-alvo seja uma sugestão útil, ela virá a um custo. Para as grandes empresas com bolsos fundos, isto é sem dúvida algo em que elas podem se concentrar.
Para empresas menores, elas precisam criar vídeos altamente envolventes em um orçamento menor ou usar vídeos de outros usuários. Se eles quiserem fazer isso, os gerentes de SEO devem dedicar mais tempo para encontrar vídeos e quais deles se alinharão ao seu conteúdo.
Quanto à nossa experiência, recomendamos colocar vídeos como uma extensão do conteúdo ou uma conexão de um bloco a toda a idéia de conteúdo.
10. Resultados de pesquisa feitos sob medida e acesso mais rápido
Isto já está em grande parte implementado, e os resultados da busca estão de acordo com as preferências do usuário. A patente intitulada “servindo conteúdo baseado no envolvimento do usuário” utiliza recursos físicos para armazenar e analisar a interação anterior do usuário com o conteúdo e seus vários elementos.
Os dados são analisados e lembrados. Da próxima vez que um usuário procurar por consultas similares ou contextuais, alguns sites podem obter uma posição melhor do que outros.
Se você quiser testar isto, você pode procurar por uma consulta que você frequentemente procura e depois procurar a mesma consulta em modo incógnito no Cromo. Os resultados irão variar. Os sites com os quais você interagiu antes virão no topo do que os sites que você não interagiu ou não abriu. Entretanto, no modo de navegação anônima, você não notará esta preferência.

O modo de navegação anônima não considera seu histórico de navegação anterior.
Isto é ainda mais reforçado por uma patente sobre uma abordagem mais rápida de recuperação de conteúdo pré-renderizado para resultados de pesquisa. Em outras palavras, se você tiver pesquisado uma série de palavras-chave regularmente, a página de resultados de pesquisa aparecerá sem qualquer atraso, pois as preferências serão pré-renderizadas para usuários individuais.
O que os gerentes de SEO devem fazer?
O mais óbvio é ganhar pelo menos uma interação com todas as perspectivas possíveis que aterrissariam em seu site. Para fazer isso, uma das maneiras mais simples seria concentrar-se no marketing pago.
Criar páginas web com a palavra-chave de destino e depois executar campanhas PPC ou Facebook para que um grande número de usuários acesse. Então, da próxima vez que procurarem algo semelhante, seu site poderá aparecer alguns lugares à frente de seu concorrente.
Dito isto, você quer evitar atrair tráfego moderado ou tráfego irrelevante para o site. Embora você queira subir na classificação, não quer ser percebido como irrelevante pelo Google ao mesmo tempo.
11. Evitar o uso de conteúdo multimídia protegido por direitos autorais ou de terceiros
O plágio de conteúdo tem sido um poderoso demônio para motores de busca, provedores de hospedagem e outras entidades. Veja como Kinsta lidou com uma fazenda de raspagem de conteúdo. Sem uma verificação do plágio, os criadores de conteúdo jamais criariam novos conteúdos, e a internet nunca seria o que é agora.
Muito roubo de conteúdo acontece na forma de texto, e isso é facilmente identificável. Entretanto, o que acontece quando alguém rouba uma parte de seu vídeo ou música ou qualquer forma de conteúdo multimídia? Como você detecta isso? Bem, o Google parece estar apertando seu controle sobre isso.

Encontrar e identificar músicas protegidas por direitos autorais no YouTube já existe há algum tempo. No entanto, o Google está trabalhando duro para dar os direitos aos verdadeiros criadores do conteúdo agora. O Google quer que todos os tipos de usuários façam conteúdo multimídia e o roubo desse conteúdo não será tolerado.
Uma das patentes do Google intitulada identificar conteúdo de referência que contém conteúdo de terceiros revela uma técnica que identifica conteúdo com direitos autorais ou conteúdo de terceiros usado por qualquer usuário em seu conteúdo. Em outras palavras, o Google quer recompensar o proprietário original do conteúdo enquanto pune o plagiador.
O que os SEOs devem fazer?
Evite utilizar conteúdo multimídia de terceiros, como músicas com direitos autorais ou partes de vídeos que pertencem a uma gravadora, etc. Compre vídeos e outros conteúdos multimídia ou crie um repositório de imagens de ações gratuitas. Coloque um designer a trabalhar para criar iterações que combinem imagens de estoque gratuito, vetores e ícones. Além disso, cadastre-se para receber músicas de estoque grátis. Você também pode entrar em contato com artistas no SoundCloud e buscar sua permissão para usar seu trabalho em seu conteúdo. Muitos deles precisam de exposição e provavelmente não recusarão sua oferta.
Resumo
O exame temático destas patentes sugere que o Google está se concentrando muito em tornar a si mesmo e todo o seu ambiente mais valioso para as empresas locais. Isto é possível através do ajuste do gráfico de conhecimento, uma precisão contextual agregadora de revisões, dados baseados em localização e validação de vários desses pontos de dados usando a mídia social. O Google definiu seu rumo.
Acreditamos que a SEO local fará um retorno no final de 2020 com uma prioridade significativa em localização, voz, vídeo, resenhas e mídia social. Embora muitos resultados de SEO sejam prováveis de sair em 2020, a inclinação estratégica dos gerentes de SEO deve ter um foco semelhante ao laser na relevância contextual para resultados holísticos e ROI.