La SEO è uno spazio caotico che richiede agli esperti di marketing digitale di andare oltre i limiti ogni giorno. Chi si occupa di SEO, a prescindere dal Paese di provenienza, tiene sempre le dita incrociate perché sa bene che da un momento all’altro potrebbero comparire aggiornamenti di Google o qualche tipo di penalizzazione. Quando questo si avvera, è facile farsi prendere dal panico, fare il controllo dei danni e cercare delle correzioni da fare per provare a riportare il sito al suo antico splendore.
Se anche voi avete attraversato situazioni così tese, questo articolo può aiutarvi a prevedere cosa Google sta pianificando per i suoi futuri aggiornamenti degli algoritmi e a prepararvi in anticipo. Tuttavia, Google non ha sempre ragione. Guardate come a Kinsta è stata accidentalmente inflitta una sanzione manuale.
Questo articolo vi darà un vantaggio nella comprensione dei fattori SEO più critici che definiranno il panorama SEO nel 2022. Si spera che questo possa aprire gli occhi ai professionisti del SEO che vogliono andare oltre i trucchi e gli hack per creare strategie di SEO e di marketing digitale che abbiano un effetto duraturo.
Metodologia
Abbiamo analizzato più di 20 importanti brevetti su cui Google ha lavorato o che ha implementato negli ultimi anni. A seconda del tipo di tecnologia, alcuni di questi possono richiedere anni per essere effettivamente visualizzati nella ricerca di Google.
Nel complesso, indicheremo 11 aree principali a cui chi si occupa di SEO e marketing digitale dovrebbe prestare molta attenzione nel 2022.
-
- Contenuti più Forti per Pertinenza e Intento
- Diventare Multilingue nel 2022
- Apple = Apps, ma Google = Google + Apps
- Prominenza sulla Ricerca per Località
- Potenziare le Comunità Online e Aumentare le Recensioni degli Utenti per la Ricerca Locale
- Riconoscimento Vocale: La Modalità di Ricerca del Futuro
- Ottimizzazione e Disambiguazione delle Immagini
- Ripetizione dei Parametri di Posizionamento
- Tracciare gli Eventi in Video e Posizionamento degli Annunci
- Risultati della Ricerca su Misura e Accesso Più Rapido
- Evitare l’Uso di Contenuti Multimediali Protetti da Copyright o di Terze Parti
1. Contenuti più Forti per Pertinenza e Intento
Se avete a che fare con la SEO già da tempo, forse conoscete già il classico algoritmo di page ranking che hanno scritto i fondatori di Google.

Algoritmo PageRank
La maggior parte di noi è ormai consapevole del fatto che solo una frazione dell’algoritmo PageRank è ancora attivo per classificare le pagine web. L’algoritmo PR è stato utilizzato in modo improprio dalla comunità SEO, e Google si è resa conto che deve evolvere continuamente per fornire ai suoi utenti posizionamento e contenuti rilevanti. Tuttavia, Google potrebbe ancora utilizzare l’algoritmo del PageRank internamente.
Sebbene si sia trattato di uno sforzo pionieristico, lo spazio dei motori di ricerca si è evoluto da allora con l’obiettivo primario di fornire risultati di ricerca accurati. Inoltre, gran parte del merito va alla continua ricerca e sviluppo di Google nello sviluppo di tecnologie internet brevettate che hanno aperto la strada a una grande esperienza di ricerca e a milioni di aziende come la vostra.
Dopo aver scoperto il dilagante uso improprio dell’algoritmo del PageRank, Google ha compreso la necessità di valutare la rilevanza dei contenuti come fattore primario di posizionamento. Da allora, Google ha investito una quantità di tempo significativa per creare tecnologie che potessero disegnare una correlazione rilevante tra le pagine relative al contesto.
Per quanto riguarda la nostra esperienza, abbiamo visto siti web che creano contenuti con argomenti strettamente legati tra loro e che guidano le SERP per le principali parole chiave. È qui che entra in gioco l’enfasi sul clustering dei contenuti.
Il brevetto di Google sul clustering dei contenuti invia un segnale simile. L’algoritmo considera principalmente un argomento e poi crea una matrice a distanza di sotto-argomenti dall’argomento principale. Più i sottoargomenti sono vicini all’argomento principale, maggiori sono le sue possibilità di apparire nei risultati di ricerca.
In effetti, l’enfasi sul clustering sembra essere abbastanza mainstream. È talmente profonda che il software di marketing dell’HubSpot mostra una percentuale di correlazione di un sotto-argomento rispetto all’argomento principale.
Come forse saprete, HubSpot incoraggia i suoi utenti a creare contenuti su tre diversi livelli. Creando un argomento al livello successivo, esso fornisce un fattore di correlazione e permette di vedere quanto strettamente gli argomenti sarebbero collegati tra loro.
Molte persone che hanno implementato la tecnica di HubSpot hanno ammesso che il loro traffico e le loro richieste sono aumentate dopo aver seguito il metodo di creazione dei contenuti che non è altro che una forma di clustering di contenuti.

Il software di marketing di HubSpot dà un valore di correlazione a tutti i sotto-argomenti creati sotto un argomento principale o un contenuto pilastro.
Con questo brevetto, Google è alla ricerca di creatori di contenuti per costruire contenuti come cluster ad alta correlazione che possono analizzare ulteriormente con metriche di impegno per assegnare classifiche rilevanti.
C’è un altro brevetto di Google intitolato come domande per rispondere alle domande di popolamento della base di conoscenza che sembrano aumentare o supportare l’intero esercizio dei cluster di contenuti. Google sta anche potenziando la rilevanza contestuale, amalgamandola con la personalizzazione. Uno degli esempi è il brevetto per un generatore di sintesi dinamica, che enfatizza la creazione di diversi riassunti di dati rispetto all’utente che vengono recuperati da account, cookie o dispositivi.
Oltre a ciò, l’enfasi sulla rilevanza contestuale si riflette anche in un brevetto di Google che è costruito intorno alla promozione di pubblicità con riferimento al contesto. Il brevetto parla esplicitamente di promozione all’interno delle pagine web, suggerendo una più stretta connessione e rilevanza contestuale del contenuto.
Cosa Dovrebbe Fare Chi Lavora nella SEO?
Concentrarsi sulla mappatura delle parole chiave e dei contenuti e creare contenuti rilevanti. Questo funzionerà in entrambi i modi, cioè nelle SERP e aiutando gli editori a guadagnare di più dagli annunci.
2. Diventare Multilingue nel 2022
I risultati della ricerca multilingue stanno guadagnando molta priorità. Con l’affermarsi dell’ambiente basato sulle app, abbiamo visto sia Google che Apple porre maggiormente l’accento sulle app e sulla ricerca multilingue.
Mentre Apple si limita alle app, il modello di business di Google, che si basa sulla ricerca, deriva molto dai siti multilingue. A oggi, oltre il 50% della popolazione mondiale non dispone di internet. Per quanto riguarda la demografia, è più probabile che queste persone abbiano familiarità con la loro lingua madre anziché con l’inglese.

A questo proposito, Google ha rilasciato una serie di brevetti che darebbero maggior peso ai siti multilingue.
Crowdsourcing di Traduzioni Umane
Google ha ottenuto un brevetto su una tecnologia web che consente a chi sviluppa un sito web arbitrario di creare un’opzione “opt-in” per la traduzione umana.
Anche se possiamo vedere traduzioni automatiche sui nostri browser, l’apparente mancanza di qualità delle traduzioni è ben nota. Per questo motivo Google sta ora investendo in tecnologie che privilegierebbero la traduzione umana per un’esperienza più significativa e affidabile.
Ciononostante, si può scommettere molto sulla traduzione accurata, sui siti multilingue e sui contenuti. Guardate come Kinsta ha lanciato il suo sito in 10 lingue diverse.
3. Apple = Apps, ma Google = Google + Apps
Da quando l’ambiente delle app è diventato mainstream con l’iPhone, anche il panorama della ricerca è cambiato radicalmente. L’uso del cellulare è aumentato e ciò ha fatto aumentare la domanda di app mobili e di siti web mobili.
Negli anni precedenti abbiamo assistito a una confusione tra la scelta di un sito web mobile e la realizzazione di un’applicazione mobile. Molte persone hanno costruito applicazioni al posto di un sito web mobile e hanno aspettato il download nell’app store, cosa che non è mai successa.
All’improvviso, l’App Store con milioni di app ha scoperto un elefante gigante nella stanza: le app.

La scoperta di un’applicazione è stata a lungo un problema persistente sia per Apple che per Google, e Google ha finalmente preso l’iniziativa di risolverlo e di fornire una scoperta contestuale attraverso la ricerca su Google e la ricerca su App Store.
Uno dei brevetti assegnati a Google sottolinea il posizionamento delle applicazioni dell’App Store in base alla menzione sociale di tali applicazioni. Il brevetto stabilisce che un certo numero di segnali saranno analizzati dai siti web dei social media e poi viene stilato un punteggio composito per classificare le applicazioni.
Cosa Dovrebbe Fare Chi Lavora nella SEO?
Dato che il brevetto è di Google, ci si può aspettare che i risultati siano più pronunciati sul Play Store che sull’App Store di Apple.
Quindi, per i SEO, diventa importante concentrarsi sui social media e sulle attività influencer, se le app aumentano e se questo non è già al centro del vostro modello di business.
4. Prominenza sulla Ricerca per Località
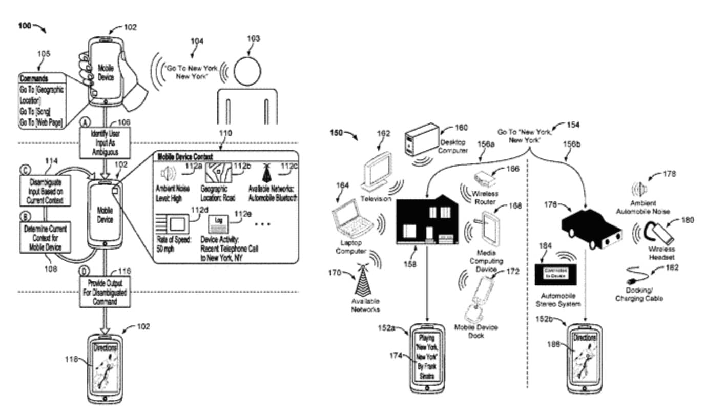
Abbiamo visto come Google si stia concentrando sulla fornitura di risultati di ricerca contestuali attraverso il clustering dei contenuti: il brevetto successivo sulla disambiguazione degli input, basato sul contesto, porta l’idea a un livello completamente nuovo.
Secondo questo brevetto, le domande ambigue degli utenti possono essere disambigue rispetto alla posizione in tempo reale del dispositivo dell’utente, alla velocità con cui l’utente si muove (viaggia in auto, ecc.), al tipo di dispositivo (mobile o desktop) e ad altri fattori.
Cosa Sono le Domande Ambigue?
Le domande ambigue non sono altro che domande che in genere non hanno un chiaro intento di ricerca. Uno dei motivi per cui molti marketer vanno dietro a lunghe code di ricerca è che hanno un chiaro intento di ricerca e di acquisto e, di conseguenza, anche un alto CPC.

Tuttavia, Google riceve molte richieste di ricerca che possono essere ampie rispetto al contesto e ambigue per quanto riguarda l’intento. La ragione principale di queste domande è da ricercarsi in primo luogo in utenti non qualificati che potrebbero non essere a conoscenza del contesto della ricerca stessa.
Quindi ora Google non solo li aiuterà a conoscere il contesto, ma fornirà loro risultati contestuali anche quando le query non sono così snelle.
Cosa Dovrebbe Fare Chi Lavora nella SEO?
Questo rientra senza dubbio nell’ambito di un’ottimizzazione della ricerca locale. Pertanto, i manager SEO devono tenerne conto e mantenere la loro corsa attraverso la loro lista di controllo SEO locale insieme a un elenco di termini ampi che confinano con le parole chiave di destinazione o che hanno una correlazione con le loro parole chiave.
Quindi, se siete un ristorante che vende sushi in una strada affollata, è meglio che il vostro nome compaia sulle mappe di Google; usate “sushi” nel nome del ristorante o nel sottotesto e attirate qualche recensione su Google o altri siti di recensioni. Questo ci porta al prossimo argomento, le recensioni degli utenti.
5. Potenziare le Comunità Online e Aumentare le Recensioni degli Utenti per la Ricerca Locale
Oltre a disambiguare le domande, Google ha ideato un altro brevetto per determinare gli attributi dell’entità derivati dalle recensioni degli utenti.
Qui, l’entità può significare qualsiasi sito web in cui un prodotto può essere elencato e venduto che attrae naturalmente le recensioni degli utenti. È probabile che Google dia molta importanza alle recensioni di Google che le entità elencano per i benefici SEO locali.
Il brevetto afferma che Google si concentrerà probabilmente su come ottenere risultati da una serie di metadati che includono l’unione di un algoritmo, hardware e un pezzo di media leggibile dal computer per analizzare le recensioni degli utenti e poi correlarle con il prodotto o il sito web elencato dall’entità.
Questo significa indirettamente che Google si concentra sulla determinazione delle recensioni degli utenti che danno una visione affidabile e veritiera di qualsiasi attività. Questo può essere applicabile anche ai siti web che consentono a Google di raccogliere i propri dati dai loro server.
Il dumping delle recensioni negative è una pratica comune. Oltre a Google, molte altre aziende stanno combattendo la stessa minaccia che dipende dalle recensioni per qualificare gli utenti e generare vendite. Amazon li sta reprimendo da un po’ di tempo.

Un altro brevetto dedicato al sistema di reputazione e di coinvolgimento per la gestione della comunità online lavora sulla stessa linea per convalidare e attrarre dati migliori generati dagli utenti: un ulteriore sforzo per snellire il knowledge graph.
Il brevetto mira a identificare i veri utenti e dà loro un peso in base al loro contributo in un forum online. Il valore è calcolato su una serie di fattori che riguardano diversi argomenti. Nella ricerca di una domanda pertinente, queste risposte, pagine o link avranno la priorità.
Un altro modo per ottenere questo risultato è rappresentato dalle query di ricerca incrementata. In uno dei brevetti dedicato ai risultati di ricerca con query di ricerca aumentata, si afferma che i risultati della ricerca sono direttamente correlati a una delle entità (persone reali). Poiché Google Plus è ormai fuori strada, possiamo aspettarci che Google si affidi molto a LinkedIn per fare questo.
Cosa Dovrebbe Fare Chi Lavora con la SEO?
Se avete a che fare con le applicazioni mobili, condividete le vostre esperienze e conoscenze sui forum. Se avete a che fare con l’ecommerce, provate a diventare esperti sul forum di Amazon Seller, e così via. Integrate il vostro team tecnico nel marketing per ottenere risultati migliori.
Per quanto riguarda le recensioni, sappiate che nei prossimi anni diventerà un fattore importante per la SEO locale. Quindi, se state pensando di fare SEO black hat tramite le recensioni, è meglio riconsiderare la vostra decisione.
6. Riconoscimento Vocale: La Modalità di Ricerca del Futuro
Sappiamo tutti che Google ha sviluppato molte tecnologie nel campo del riconoscimento vocale. E poi, come c’è da aspettarsi, quando 320 milioni di utenti effettuano ricerche con la ricerca vocale, ha molto senso investire in questo campo.
I numeri non si limitano solo a Google. Per la cronaca, va notato che più di 4 milioni di dispositivi Amazon Echo vengono venduti durante la stagione delle feste. È un numero considerevole. Infatti, secondo Gartner, la società di ricerca leader mondiale, quasi la metà delle ricerche viene effettuata a voce.
Guardando il brevetto, possiamo vedere che Google vuole riconoscere le parole chiave all’interno di lunghe righe di discorso. Cosa ci suggerisce questo?
I programmi di apprendimento automatico si stanno occupando di molte cose all’interno dell’algoritmo di Google. Con la quantità di metadati che Google sta raccogliendo, l’intero processo di ricerca e di consumo dei contenuti sarà estremamente intuitivo. Questo è esattamente ciò che Google sta cercando di ottenere con la parola.

Sulla pagina web di Siri si capisce chiaramente che queste aziende (inclusa Google) vogliono che l’interazione uomo-macchina sia estremamente intuitiva così da rendere mainstream la ricerca vocale.
Con tutti questi assistenti vocali, le aziende, che si tratti di Amazon, Apple o Google, in realtà vogliono che impariamo a conversare con i servizi vocali come se fossero umani. Tuttavia, affinché Google indichi risultati rilevanti, avrebbe comunque bisogno di alcuni data point, come le parole chiave, per restringere il contesto e fornire risultati accurati. Questo è ciò che il brevetto di Google sta cercando di realizzare.

Cosa Dovrebbe Fare Chi Lavora nella SEO?
Dal momento che molte richieste di query sono naturalmente attratte da Amazon, e si stanno vendendo un sacco di dispositivi Echo, Google vorrebbe definire con precisione questo aspetto. Pertanto, chi lavora nella SEO deve concentrarsi sull’ottimizzazione dei suoi siti con la prospettiva della ricerca vocale.
7. Ottimizzazione e Disambiguazione delle Immagini
Google ha depositato un brevetto su query contestualmente disambiguate in cui un utente può chiedere direttamente al servizio di ricerca di fornirgli informazioni su un’immagine che sta visualizzando nel suo dispositivo, in tempo reale.

Come detto, questo creerà delle query contestualmente disambiguate in cui il servizio di ricerca comporrà il repository delle sotto-immagini e poi darà un output vocale dicendo all’utente quali sono gli oggetti attualmente visualizzati e quali sono realmente gli oggetti.
Possiamo supporre che un livello di attività aumentata possa anche prendere il controllo dello schermo per un facile accesso alle informazioni sull’oggetto che si sta visualizzando. Ciò è dovuto al fatto che gli attuali Android 8 e 9 sono costruiti in larga misura su questo.

Per quanto riguarda la precisione visiva e l’UX, Google ha già il suo principio di progettazione dei materiali ben definito a sostegno.
Lo Scopo del Brevetto per la Ricerca di Immagini Distribuite
C’è un altro brevetto che riafferma l’attenzione di Google per il riconoscimento delle immagini e le ricerche. In un brevetto intitolato ricerca di immagini distribuite, il team di ingegneria di Google dà un’interessante rappresentazione schematica. Il brevetto si basa sull’identificazione e la restituzione di soggetti di immagini che hanno forme e colori simili a quelli di un’immagine oggetto della ricerca.
Il motivo principale per cui Google sottolinea questo punto è che le immagini possono guidare molte ricerche.
Per esempio, se volete spiegare a una persona come è fatto un vostro nuovo vestito, è meglio tirare fuori una foto e mostrargliela invece di cercare di descriverlo. Potreste conoscere il tipo di abito in base al suo nome, ma la persona con cui parlate potrebbe non conoscerlo. È qui che le immagini possono innescare una rapida comprensione e permettere agli utenti di raggiungere lo Zero Moment of Truth (ZMOT – Momento Zero della Verità) molto più velocemente.
L’obiettivo primario è quello di aiutare le persone a raggiungere un risultato migliore e più accurato rispetto all’immagine che hanno inserito nella ricerca. Così, se si cerca un’immagine di una camicia di un certo colore, Google fornirà immagini simili e un link alla rispettiva pagina web da cui nascondono l’immagine.

Secondo Neil Patel, più del 10% delle ricerche su Google sono ora guidate da images.google.com. Si tratta di un numero enorme, il cui risultato è diventato anche un importante fattore di ranking.
Cosa Dovrebbe Fare Chi Lavora nella SEO?
Questa è una miniera d’oro per chi lavora sulla SEO di un sito di ecommerce. Come Google accoppia l’apprendimento automatico per identificare le immagini, anche gli istogrammi delle immagini sono considerati per trovare un’immagine migliore.
In altre parole, se state gestendo un negozio di ecommerce, allora provate a usare le immagini rilevanti sulle pagine web. Accoppiatele con foto di stock di alta qualità o con un migliore servizio fotografico e di editing per far risaltare i colori. Tuttavia, non cambiate i colori.
8. Ripetizione dei Parametri di Posizionamento
Google ha recentemente ottenuto un brevetto per la classificazione di documenti su grandi insiemi di dati. Si tratta di una soluzione robusta al problema dello spam che Google combatte da tempo.
Come tutti sappiamo, il numero di backlink che si ha è uno dei determinanti permanenti delle SERP. Nel corso degli anni, è stato sfruttato da Black Hat SEO, che questo brevetto mira a risolvere.
Come Funziona Questa Tecnologia?
Questo brevetto si concentra sul fatto che ottenere un backlink da solo non è sufficiente. Quindi, quello che fa è monitorare il comportamento dell’utente intorno al link di navigazione per un periodo di tempo e poi ne ricava delle deduzioni. Il brevetto parla di una serie di segnali per ottenere questo risultato.
Quando il comportamento di navigazione viene accertato, al link viene dato un valore che viene trasmesso alla pagina a cui si sta collegando.
Questo può funzionare molto bene rispetto ai link che appaiono sui siti web dei social media. Questo è un altro esempio in cui il knowledge graph viene convalidato da una grande serie di dati prodotti dagli utenti.
Cosa Dovrebbe Fare Chi Lavora nella SEO?
Concentrarsi sul primo punto, creando cluster di contenuti strettamente legati tra loro. Questo vi impedirà di apparire nei risultati di ricerca che non sono contestuali, evitando backlink indesiderati che probabilmente registreranno meno attività di navigazione come indicato nel brevetto.
Dovreste anche fare un outreach mirato in modo che i vostri link che appaiono su altri siti ricevano attività, inviando traffico naturale alla vostra pagina.
Si dovrebbe anche fare attenzione quando si fa la sindacazione dei contenuti. Considerate l’idea di un clustering di contenuti per un’elevata correlazione e pianificate la vostra campagna di syndication di conseguenza.
9. Tracciare gli Eventi in Video e Posizionamento degli Annunci
I video su YouTube o i video incorporati nelle pagine sono emersi come un importante patrimonio di contenuti per un gran numero di aziende. In mezzo a questo tsunami di video, non basta contare il numero totale di visualizzazioni di un video. Bisogna dare un senso alle azioni degli utenti che avvengono all’interno dei video, quantificando i dati che Google sta già facendo.
Il brevetto per il tracciamento delle attività degli utenti e la fornitura di web analytics è incentrato sull’aggregazione di tutte le azioni degli utenti e sul loro feedback ai server per dare valore al contenuto del video e inserire annunci contestuali.

I video incorporati includono ulteriori azioni utente come “guarda dopo”, “condividi”, “sottotitoli on e off” e “video correlati”.
Alcuni Fattori su Cui Google Vuole Raccogliere Dati:
- Il numero di clic sul video
- La durata media del video guardato dagli utenti
- A quale punto della sequenza video le persone preferiscono saltare?
- Le persone guardano o saltano gli annunci?
- Guardano i video con i sottotitoli?

Google ha già implementato la possibilità di saltare a un punto preciso della barra di ricerca. Le persone spesso prevedono e fanno clic sulla barra di ricerca per visualizzare la parte di contenuto che desiderano e Google aiuta gli utenti a farlo.
Questi data point, se combinati con gli altri metadati, possono dare forti segnali sul fattore di coinvolgimento dei contenuti video e sul loro allineamento contestuale con i contenuti web con cui sono abbinati.
È stato inoltre identificato un altro brevetto che traccia gli oggetti all’interno dei contenuti multimediali. Ciò che fa è analizzare gli oggetti all’interno dei media con l’aiuto del machine learning e poi scoprire il contesto di ricerca.
I segnali di ricerca possono essere una pausa di un fotogramma in un video, la riproduzione di una porzione all’interno della linea temporale dei contenuti multimediali e così via. Questo è portato avanti da un altro brevetto che esegue il riconoscimento facciale, il tracciamento dei loghi e delle etichette, ecc. che appare nei video e poi li mette in relazione con le query di ricerca.
Cosa Dovrebbe Fare Chi Si Occupa di SEO?
Chi lavora nella SEO dovrebbe comprendere l’importanza dei video come fattore di posizionamento che aumenterà solo nel 2020. Anche se realizzare più contenuti video che coinvolgono il vostro target di riferimento è un suggerimento utile, avrà un costo. Per le grandi aziende con le tasche profonde, questo è senza dubbio qualcosa su cui possono concentrarsi.
Per le aziende più piccole, devono creare video altamente coinvolgenti con un budget ridotto o utilizzare video di altri utenti. Se vogliono farlo, i responsabili SEO devono dedicare più tempo a trovare i video e quali si allineeranno ai loro contenuti.
Facendo riferimento alla nostra esperienza, consigliamo di inserire i video come estensione del contenuto o come collegamento di un blocco all’intera idea di contenuto.
10. Risultati della Ricerca su Misura e Accesso Più Rapido
Questo è già stato ampiamente implementato e i risultati della ricerca sono in linea con le preferenze dell’utente. Il brevetto intitolato “Servire il contenuto in base all’impegno dell’utente” usa risorse fisiche per mettere in cache e analizzare l’interazione precedente dell’utente con il contenuto e i suoi vari elementi.
I dati vengono analizzati e ricordati. La prossima volta che un utente fa ricerche simili o correlate al contesto, alcuni siti possono ottenere una posizione migliore di altri.
Se si vuole testare questo, è possibile cercare una query che si cerca spesso e poi cercare la stessa query in modalità in incognito su Chrome. I risultati variano. I siti con cui avete interagito in precedenza verranno in cima alla classifica rispetto ai siti che non avete aperto o con cui non avete interagito. Tuttavia, in modalità in incognito, non noterete questa preferenza.

La modalità in incognito non tiene conto della cronologia di navigazione passata.
A ciò si aggiunge un brevetto che prevede un approccio più rapido per il recupero di contenuti pre-renderizzati per i risultati della ricerca. In altre parole, se avete cercato regolarmente un certo numero di parole chiave, la pagina dei risultati della ricerca apparirà senza alcun ritardo, poiché le preferenze saranno pre-renderizzate per i singoli utenti.
Cosa Dovrebbe Fare Chi Si Occupa di SEO?
La cosa più ovvia è guadagnare almeno un’interazione con tutte le possibili prospettive che atterrerebbero sul vostro sito. Per fare questo, uno dei modi più semplici sarebbe quello di concentrarsi sul marketing a pagamento.
Creare pagine web con la parola chiave di destinazione e poi eseguire campagne PPC o Facebook per puntare a un gran numero di utenti. La prossima volta che cercano qualcosa di simile, il vostro sito potrebbe mostrare qualche posizione in più rispetto al vostro concorrente.
Detto questo, si vuole evitare di attirare traffico moderato o traffico irrilevante sul sito. Anche se volete ottenere un ranking più alto, allo stesso tempo non vi conviene certe essere percepiti come irrilevanti da Google.
11. Evitare l’Uso di Contenuti Multimediali Protetti da Copyright o di Terze Parti
Il plagio dei contenuti è stato un potente demone per i motori di ricerca, i fornitori di hosting e altre entità. Guardate come Kinsta ha gestito un problema con una organizzazione di content scraping. Senza un controllo sul plagio, i creatori di contenuti non avrebbero mai creato nuovi contenuti e internet non sarebbe mai stato quello che è ora.
Molti contenuti vengono rubati sotto forma di testo, e questo è facilmente identificabile. Ma cosa succede quando qualcuno ruba una parte del vostro video o della vostra musica o qualsiasi forma di contenuto multimediale? Come lo rilevate? Beh, sembra che Google stia stringendo la presa su questo aspetto.

Il reperimento e l’identificazione di musica protetta da copyright su YouTube è in giro da un po’ di tempo. Tuttavia, Google ora sta lavorando duramente per dare i diritti ai veri creatori dei contenuti. Google vuole che tutti i tipi di utenti producano contenuti multimediali e che il furto di tali contenuti non sia tollerato.
Uno dei brevetti di Google intitolato Third Party Content Provider Integrations (cioè “Integrazioni di fornitori di contenuti di terze parti”) rivela una tecnica che identifica i contenuti protetti da copyright o i contenuti di terze parti utilizzati da qualsiasi utente nei loro contenuti. In altre parole, Google vuole premiare il proprietario originale del contenuto punendo il plagio.
Cosa Dovrebbe Fare Chi Si Occupa di SEO?
Evitare di usare contenuti multimediali di terze parti, come musica protetta da copyright o porzioni di video che appartengono a un’etichetta discografica, ecc.
Acquistate video stock e altri contenuti multimediali o create un archivio di immagini stock gratuite. Mettete al lavoro un designer per creare iterazioni che combinino immagini stock gratuite, vettoriali e icone. Inoltre, iscrivetevi ai servizi per avere musica stock gratuita.
Potete anche contattare artisti su SoundCloud e chiedere loro il permesso di usare il loro lavoro sui vostri contenuti. Molti di loro hanno bisogno di visibilità e probabilmente non rifiuteranno la vostra offerta.
Guardate la nostra video-guida per aumentare il traffico attraverso la SEO:
Riepilogo
L’esame tematico di questi brevetti suggerisce che Google si sta concentrando molto sul rendere se stesso e il suo intero ambiente più prezioso per le imprese locali. Questo è possibile modificando il knowledge graph, un’accuratezza contestuale aggregante delle recensioni, dati basati sulla localizzazione e la convalida di alcuni di questi data point utilizzando i social media. Google si è messo sulla buona strada.
La SEO locale ha fatto ritorno alla fine del 2020 con una significativa priorità su location, voce, video, recensioni e social media. Molti prodotti SEO sono usciti nel 2020, ma l’inclinazione strategica dei manager SEO dovrebbe essere focalizzata, come un laser, sulla rilevanza contestuale per i risultati olistici e il ROI.