SEO ist ein chaotischer Raum, der von den Experten für digitales Marketing verlangt, jeden Tag die Grenzen zu erweitern. SEOs auf der ganzen Welt drücken immer die Daumen, da sie ständig von der Angst vor einem bevorstehenden Google-Update oder einer anderen Art von Strafe verfolgt werden. Wenn sich ihre schlimmste Angst bewahrheitet, geraten sie in einen Rausch und versuchen, Abhilfe zu schaffen, Schadensbegrenzung zu betreiben und die Website wieder in ihren alten Glanz zu bringen.
Wenn du jemand bist, der solche angespannten Situationen durchlebt hat, kann dir dieser Beitrag helfen, vorauszusehen, was Google für seine zukünftigen Algorithmus-Updates plant, und dich im Voraus darauf vorzubereiten. Allerdings hat Google nicht immer Recht. Sieh dir an, wie Kinsta versehentlich eine manuelle Strafe erhalten hat.
Dieser Beitrag gibt dir einen Vorsprung beim Verständnis der wichtigsten SEO-Faktoren, die die SEO-Landschaft im Jahr 2020 bestimmen werden. Dies sollte hoffentlich ein Augenöffner für SEO-Profis sein, die über Tricks und Hacks hinausgehen wollen, um SEO- und digitale Marketingstrategien zu erstellen, die eine lang anhaltende Wirkung haben würden.
Metodik
Wir haben mehr als 20 wichtige Patente analysiert, an denen Google gearbeitet hat oder die in den letzten Jahren umgesetzt wurden. Je nach Art der Technologie kann es Jahre dauern, bis einige davon in der Google-Suche tatsächlich auftauchen.
Insgesamt weisen wir auf 11 Hauptbereiche hin, denen SEO und digitale Vermarkter im Jahr 2020 besondere Aufmerksamkeit widmen sollten.
- Schärfere inhaltliche Relevanz und Intention
- Mehrsprachigkeit im Jahr 2019
- Apple = Apps, aber Google = Google + Apps
- Bekanntheitsgrad bei der standortbasierten Suche
- Stärkung der Online-Communities und Erhöhung der Benutzerbewertungen für die lokale Suche
- Spracherkennung – Der Suchmodus der Zukunft
- Bildoptimierung und Disambiguierung
- Ein Retake der Ranking-Parameter
- Tracking von Ereignissen in Videos und Anzeigenschaltung
- Maßgeschneiderte Suchergebnisse und schnellerer Zugriff
- Vermeide die Verwendung von urheberrechtlich geschützten oder von Dritten stammenden Multimedia-Inhalten
Schärfere inhaltliche Relevanz und Intention
Wenn du dich schon seit einiger Zeit mit SEO beschäftigt hast, kennst du vielleicht schon den klassischen Page-Ranking-Algorithmus, den die Gründer von Google geschrieben haben.

PageRank Algorithmus
Die meisten von uns sind sich mittlerweile bewusst, dass nur noch ein Bruchteil des PageRank-Algorithmus aktiv ist, um Webseiten zu bewerten. Der PR-Algorithmus wurde von der SEO-Community missbraucht, und Google hat erkannt, dass es sich ständig weiterentwickeln muss, um seinen Nutzern relevante Rankings und Inhalte zu bieten. Allerdings verwendet Google den PageRank-Algorithmus möglicherweise noch immer intern.
Obwohl dies eine Pionierleistung war, hat sich der Suchmaschinenbereich seitdem weiterentwickelt, wobei der Schwerpunkt auf der Bereitstellung präziser Suchergebnisse liegt. Darüber hinaus geht ein großer Teil der Anerkennung an Googles kontinuierliche Forschung und Entwicklung bei der Entwicklung patentierter Internettechnologien, die den Weg für ein großartiges Sucherlebnis und steigende Einnahmen für Millionen von Unternehmen wie das deinige geebnet haben.
Nachdem Google den zügellosen Missbrauch des PageRank-Algorithmus festgestellt hatte, verstand es das Unternehmen, die Relevanz von Inhalten als primären Ranking-Faktor zu bewerten. Seitdem hat Google viel Zeit in die Entwicklung von Technologien investiert, die eine relevante Korrelation zwischen den Seiten hinsichtlich des Kontexts herstellen können.
Nach unserer Erfahrung haben wir Websites gesehen, die Inhalte mit eng gestrickten Themen erstellen und die SERPs für die wichtigsten Keywords anführen. Hier kommt der Schwerpunkt auf das Content Clustering ins Spiel.
Googles Patent auf Content Clustering sendet ein ähnliches Signal. Der Algorithmus berücksichtigt in erster Linie ein Thema und erstellt dann eine Distanzmatrix von Unterthemen zum Hauptthema. Je näher die Unterthemen am Hauptthema liegen, desto besser sind die Chancen, dass sie in den Suchergebnissen erscheinen.
Tatsächlich scheint die Betonung auf Clustering ziemlich Mainstream zu sein. Es ist so tiefgreifend, dass die Marketing-Software des HubSpots eine prozentuale Korrelation eines Unterthemas zum Hauptthema anzeigt.
Wie du vielleicht weißt, ermutigt HubSpot seine Nutzer, Inhalte auf drei verschiedenen Ebenen zu erstellen. Wenn du ein Thema auf der nächsten Ebene erstellst, gibt es einen Korrelationsfaktor und du kannst sehen, wie eng die Themen miteinander verbunden sind.
Viele Leute, die die HubSpot-Technik implementiert haben, haben zugegeben, dass ihr Traffic und ihre Anfragen zugenommen haben, nachdem sie die Methode der Inhaltserstellung verfolgt haben, die nichts anderes als eine Form des Content Clustering ist.

Die Idee eines Content Clusters in der HubSpot-Methodik. Die HubSpot-Marketing-Software gibt allen Unterthemen, die unter einem Hauptthema oder Säuleninhalt erstellt wurden, einen Korrelationswert.
Mit diesem Patent sucht Google nach Content-Erstellern, um Inhalte als Cluster mit hoher Korrelation zu erstellen, die sie mit Engagement-Metriken weiter analysieren können, um relevante Rankings zu vergeben.
Es gibt ein weiteres Google-Patent mit dem Titel „Questions answering to populate knowledge base“, das die gesamte Übung der Contentcluster zu ergänzen oder zu unterstützen scheint. Durch die Verbindung mit der Personalisierung erhöht Google auch die kontextbezogene Relevanz. Eines der Beispiele ist das Patent für einen dynamischen Zusammenfassungsgenerator, der die Erstellung verschiedener Zusammenfassungen von Daten in Bezug auf den Nutzer betont, die aus Konten, Cookies oder Geräten abgerufen werden.
Darüber hinaus spiegelt sich die Betonung der kontextuellen Relevanz auch in einem Patent von Google wider, das auf der Förderung von Werbung mit Bezug zum Kontext aufgebaut ist. Das Patent spricht explizit von Werbung innerhalb von Webseiten, was eine engere Verbindung und kontextbezogene Relevanz des Inhalts suggeriert.
Was sollten SEOs tun?
Konzentriere dich auf Keyword- und Content-Mapping und erstelle relevante Inhalte. Dies funktioniert in beide Richtungen, d.h. in SERPs und hilft Publishern, mehr aus Anzeigen zu verdienen.
2. Mehrsprachigkeit im Jahr 2020
Mehrsprachige Suchergebnisse gewinnen immer mehr an Priorität. Da die app-basierte Umgebung an Dynamik gewinnt, haben wir gesehen, dass sowohl Google als auch Apple mehr Wert auf mehrsprachige Apps und die Suche legen.
Während Apple auf Apps beschränkt ist, leitet das auf der Suche basierende Geschäftsmodell von Google viel von mehrsprachigen Websites ab. Zurzeit haben mehr als 50 % der Weltbevölkerung kein Internet. In Bezug auf die Demografie sind diese Menschen am ehesten mit ihrer Muttersprache vertraut, statt mit Englisch.

Google hat eine Reihe von Patenten herausgebracht, die mehrsprachigen Websites mehr Gewicht verleihen würden.
Crowdsource Humanübersetzung
Google hat ein Patent auf eine Webtechnologie erhalten, die es dem Entwickler einer beliebigen Website ermöglicht, eine „Opt-in“-Option für menschliche Übersetzungen zu erstellen.
Während wir maschinenbasierte Übersetzungen auf unseren Browsern erhalten haben, ist der offensichtliche Mangel an Qualität der Übersetzungen bekannt. Aus diesem Grund investiert Google jetzt in Technologien, die eine menschliche Übersetzung für eine aussagekräftigere und zuverlässigere Erfahrung bringen würden.
Trotzdem kann man im Jahr 2020 viel auf genaue Übersetzungen, mehrsprachige Websites und Inhalte setzen. Schaue dir an, wie Kinsta seine Website in 10 verschiedenen Sprachen gestartet hat.
3. Apple = Apps, aberGoogle = Google + Apps
Seitdem sich die appgesteuerte Umgebung mit dem iPhone zum Mainstream entwickelt hat, hat sich auch die Suchlandschaft dramatisch verändert. Die mobile Nutzung hat zugenommen, was wiederum die Nachfrage nach mobilen Apps und mobilen Websites erhöht hat.
In früheren Jahren gab es Verwirrung zwischen der Auswahl einer mobilen Website und der Erstellung einer mobilen App. Viele Leute haben Apps statt einer mobilen Website erstellt und auf Downloads im App Store gewartet, was nie passiert ist.
Plötzlich entdeckte der App-Store mit Millionen von Apps einen riesigen Elefanten im Raum: die App-Entdeckung.

Die Entdeckung von Apps war lange Zeit ein anhaltendes Problem für Apple und Google, und Google hat endlich die Führung übernommen, um dies zu lösen und eine kontextbezogene Entdeckung durch die Google-Suche sowie die Suche im App Store zu ermöglichen.
Eines der Patente, die Google erteilt wurden, legt den Schwerpunkt auf das Ranking von App Store-Anwendungen auf der Grundlage der Social Nennung dieser Anwendungen. Das Patent besagt, dass eine Reihe von Signalen von Social-Media-Websites analysiert werden und dann ein zusammengesetzter Score ausgegeben wird, um das Ranking der Apps zu ermitteln.
Was sollten SEOs tun?
Da das Patent bei Google liegt, ist zu erwarten, dass die Ergebnisse im Play Store ausgeprägter sind als im Apple App Store.
Daher wird es für SEOs wichtig, sich im Jahr 2020 auf Social-Media- und Influencer-Aktivitäten zu konzentrieren, wenn die App(s) bereits im Mittelpunkt deines Geschäftsmodells stehen.
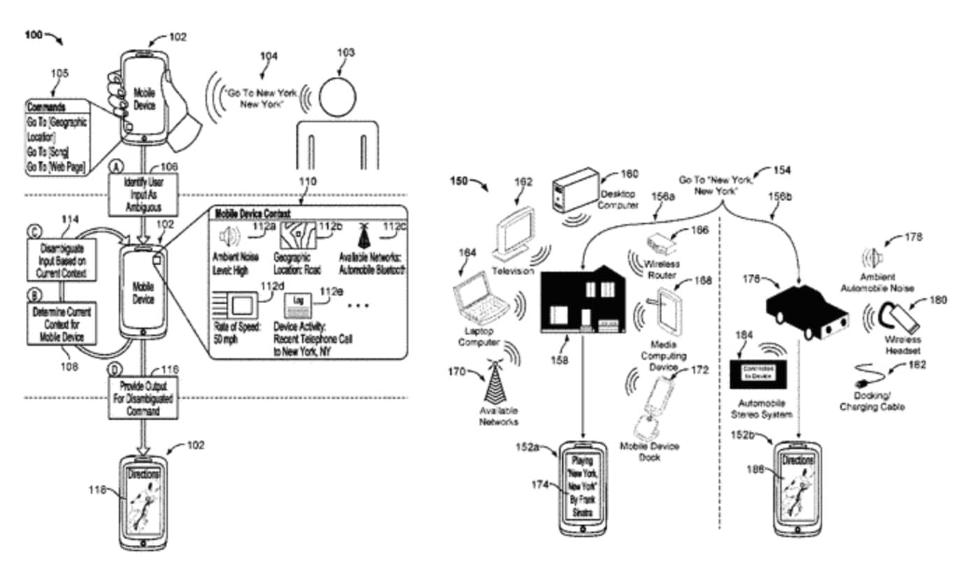
4. Bekanntheitsgrad bei der standortbasierten Suche
Wir haben gesehen, wie Google sich auf die Bereitstellung kontextbezogener Suchergebnisse durch Content Clustering konzentriert. Dieses folgende Patent auf die Disambiguierung von Eingaben, basierend auf dem Kontext, bringt die Idee auf eine ganz neue Ebene.
Nach diesem Patent können mehrdeutige Nutzeranfragen in Bezug auf den Echtzeitstandort des Geräts des Nutzers, die Geschwindigkeit, mit der sich der Nutzer bewegt (z. B. im Auto), die Art des Geräts (Handy oder Desktop) und andere Faktoren eindeutig bestimmt werden
Was sind mehrdeutige Abfragen?
Mehrdeutige Abfragen sind nichts anderes als Abfragen, die in der Regel keine klare Suchabsicht haben. Einer der Gründe dafür, dass viele Vermarkter nach Long-Tail-Suchanfragen suchen, ist, dass sie eine klare Such- und Kaufabsicht und infolgedessen auch einen hohen CPC haben.

Allerdings bekommt Google eine Menge Suchanfragen, die in Bezug auf den Kontext breit und mehrdeutig sein können, was die Absicht betrifft. Der Hauptgrund für diese Suchanfragen sind unqualifizierte Nutzer, die den Kontext der Suche möglicherweise selbst nicht kennen.
Daher wird Google ihnen jetzt nicht nur dabei helfen, den Kontext kennenzulernen, sondern ihnen auch kontextbezogene Ergebnisse liefern, selbst wenn die Suchanfragen nicht so rational sind.
Was sollten SEOs tun?
Dies fällt zweifelsohne in den Bereich einer lokalen Suchoptimierung. Daher müssen SEO-Manager dies berücksichtigen und ihren Lauf durch ihre lokale SEO-Checkliste zusammen mit einer Liste von breiten Begriffen, die an den Grenzen oder eine Korrelation zu ihren Ziel-Keywords hat, halten.
Wenn du also ein Restaurant bist, das Sushi in einer belebten Straße verkauft, solltest du deinen Namen auf den Google Maps finden; verwende „Sushi“ in deinem Restaurantnamen oder Subtext und ziehe einige Bewertungen bei Google oder anderen Bewertungsseiten an. Dies bringt uns zum nächsten Thema, den Nutzerbewertungen.
5. Stärkung der Online-Communities und Erhöhung der Anzahl echter Benutzerbewertungen, um die lokale Suche zu dominieren
Zusätzlich zur Disambiguierung von Abfragen hat Google ein weiteres Patent entwickelt, das dazu dient, die aus den Nutzerbewertungen abgeleiteten Attribute der Entität zu bestimmen.
Hier kann die Entität jede Website bedeuten, auf der ein Produkt gelistet und verkauft werden kann, das natürlich die Nutzerbewertungen anzieht. Google wird wahrscheinlich eine große Bedeutung auf die Google-Bewertungen, die die Unternehmen für lokale SEO-Vorteile auflisten, legen.
Das Patent besagt, dass sich Google wahrscheinlich darauf konzentriert, Ergebnisse aus einem Satz von Metadaten abzuleiten, der die Vereinigung eines Algorithmus, Hardware und eines Teils von computerlesbaren Medien zur Analyse von Nutzerbewertungen und zur anschließenden Korrelation mit dem von der Entität gelisteten Produkt oder der Website umfasst.
Dies bedeutet indirekt, dass Google sich darauf konzentriert, die echten Nutzerbewertungen zu ermitteln, die einen zuverlässigen und wahrheitsgemäßen Einblick in jedes Unternehmen geben. Dies kann auch für Websites gelten, die es Google ermöglichen, seine Daten von ihren Servern zu sammeln.
Das Dumping negativer Bewertungen ist eine gängige Praxis. Abgesehen von Google kämpfen viele andere Unternehmen gegen die gleiche Bedrohung, die von den Bewertungen abhängt, um die Nutzer zu qualifizieren und Umsatz zu generieren. Amazon geht schon seit einiger Zeit hart gegen sie vor.

Ein weiteres Patent mit dem Titel „Reputations- und Engagement-System für Online-Community-Management“ arbeitet auf derselben Linie an der Validierung und Gewinnung besserer nutzergenerierter Daten – ein weiterer Versuch, den Wissensgraphen zu rationalisieren.
Das Patent zielt darauf ab, die echten Nutzer zu identifizieren und ihnen ein Gewicht entsprechend ihres Beitrags in einem Online-Forum zu geben. Der Wert wird anhand einer Reihe von Faktoren über mehrere Themenbereiche hinweg berechnet. Bei der Suche nach einer relevanten Anfrage werden diese Antworten, Seiten oder Links vorrangig behandelt.
Eine weitere Möglichkeit, dies zu erreichen, sind erweiterte Suchanfragen. In einem der genannten Patente, die Suchergebnisse mittels erweiterter Suchanfragen liefern, wird angegeben, dass die Suchergebnisse direkt mit einer der Entitäten (reale Personen) korreliert sind. Da Google plus aus dem Weg ist, können wir davon ausgehen, dass Google sich dabei sehr auf LinkedIn verlassen wird.
Was sollten SEOs tun?
Wenn du mit mobilen Apps zu tun hast, werde ein Vordenker in den Foren. Wenn du dich mit E-Commerce beschäftigst, versuche, ein Profi im Amazon-Seller-Forum zu werden und so weiter. Integriere dein Technik-Team in das Marketing, um bessere Ergebnisse zu erzielen.
In Bezug auf Bewertungen, verstehe, dass es ein wichtiger Faktor für die lokale SEO in den kommenden Jahren werden wird. Wenn du also über Black Hat SEO mit Rezensionen nachdenkst, ist es besser, deine Entscheidung zu überdenken.
6. Spracherkennung – Der Suchmodus der Zukunft
Wir alle wissen, dass Google eine Menge Technologien im Bereich der Spracherkennung entwickelt hat. Und warum nicht, wenn 320 Millionen Nutzer über die Sprachsuche suchen, ist es sehr sinnvoll, in diesen Bereich zu investieren.
Die Zahlen sind nicht nur auf Google beschränkt. Für das Protokoll ist zu erwähnen, dass mehr als 4 Millionen Amazon Echo Geräte in jeder Weihnachtszeit verkauft werden. Das ist eine beachtliche Zahl. Tatsächlich wird laut Gartner, dem weltweit führenden Forschungsunternehmen, bis zum Jahr 2020 fast die Hälfte der Suchanfragen mit Hilfe von Sprache durchgeführt werden.
Ein Blick auf das Patent zeigt, dass Google Keywords innerhalb langer Sprechzeilen erkennen will. Was schlägt es vor?
Programme für maschinelles Lernen handhaben jetzt eine Menge Dinge innerhalb des Google-Algorithmus. Bei der Menge an Metadaten, die Google sammelt, wird der gesamte Prozess des Suchens und Konsumierens der Inhalte extrem intuitiv sein. Genau das versucht Google mit Sprache zu erreichen.

Auf der Webseite für Siri kann man deutlich verstehen, dass diese Unternehmen (einschließlich Google) die Mensch-Maschine-Interaktion extrem intuitiv gestalten wollen, um die Sprachsuche zum Mainstream zu machen.
Mit all diesen Sprachassistenten wollen die Unternehmen, sei es Amazon, Apple oder Google, dass wir uns mit den Sprachdiensten tatsächlich so unterhalten, als wären sie Menschen. Damit Google jedoch relevante Ergebnisse aufzeigen kann, bräuchte es noch einige Datenpunkte, wie z.B. Schlüsselwörter, um den Kontext einzugrenzen und genaue Ergebnisse zu liefern. Genau das versucht das Google-Patent zu erreichen.

Was sollten SEOs tun?
Da viele transaktionale Anfragen natürlich von Amazon angezogen werden und sie eine Menge Echos verkaufen, würde Google dies in den nächsten Jahren festnageln wollen. Daher müssen sich SEO-Manager auf die Optimierung ihrer Websites mit der Perspektive der Sprachsuche im Jahr 2020 konzentrieren.
7. Bildoptimierung und Disambiguierung
Google hat ein Patent auf kontextuell disambiguierende Abfragen angemeldet, bei denen ein Nutzer den Suchdienst direkt bitten kann, ihm in Echtzeit Informationen über ein Bild zu geben, das er gerade in seinem Gerät betrachtet.

Wie gesagt, dies wird kontextuell disambiguierende Abfragen erzeugen, bei denen der Suchdienst das Repository der Teilbilder anwählt und dann eine Sprachausgabe ausgibt – die den Benutzer über die aktuell angezeigten Objekte und deren tatsächliche Beschaffenheit informiert.
Wir können davon ausgehen, dass auch eine erweiterte Aktivitätsschicht den Bildschirm übernehmen kann, um einen einfachen Zugriff auf die Informationen über das betrachtete Objekt zu ermöglichen. Denn die aktuellen Android 8 und 9 sind stark darauf aufgebaut.

Was die visuelle Genauigkeit und UX betrifft, so hat Google bereits ihr wohldefiniertes Materialdesign-Prinzip zur Unterstützung.
Der Zweck des Patents für die verteilte Bildsuche
Es gibt ein weiteres Patent, das Googles Fokus auf Bilderkennung und -suche bestätigt. In einem Patent mit dem Titel „Distributed Image Search“ geben die Google-Ingenieure eine interessante schematische Darstellung. Das Patent basiert auf der Identifizierung und Rückgabe von Bildsubjekten, die ähnliche Formen und Farben wie das Subjekt eines gesuchten Bildes haben.
Der Hauptgrund, warum Google diesen Punkt betont, ist, dass Bilder viele Suchanfragen steuern können.
Wenn du zum Beispiel deiner Freundin ein neues Kleid erklären willst, solltest du besser ein Bild herausziehen und es ihr zeigen, anstatt zu versuchen zu beschreiben, wie es aussieht. Vielleicht kennst du den Kleidertyp an seinem Namen, aber deine Freundin vielleicht nicht
Hier können Bilder ein schnelles Verständnis auslösen und die Benutzer können das ZMOT viel schneller erreichen.
Das primäre Ziel hier ist es, den Leuten zu helfen, ein besseres und genaueres Bild/Suchergebnis in Bezug auf das Bild, das sie in die Suche gestellt haben, zu erreichen. Wenn Sie also nach einem Bild eines Shirts einer bestimmten Farbe suchen, wird Google ähnliche Bilder und einen Link zu der jeweiligen Webseite, auf der das Bild zwischengespeichert wird, zur Verfügung stellen.

Laut Neil Patel werden inzwischen mehr als 10% der Google-Suchanfragen von images.google.com gesteuert. Das ist eine riesige Zahl und ein Ergebnis, das auch zu einem wichtigen Ranking-Faktor geworden ist.
Was sollten SEOs tun?
Dies ist eine Goldgrube für SEO-Manager, die mit einer E-Commerce-Website arbeiten. Da Google maschinell lernt, Bilder zu identifizieren, werden auch Bildhistogramme in Betracht gezogen, um ein besseres Bild zu finden.
Mit anderen Worten, wenn du einen E-Commerce-Shop betreibst, dann versuche, relevante Bilder auf Webseiten zu verwenden. Paaren Sie dies mit hochwertigen Archivfotos oder einem besseren Fotoshooting und der Bearbeitung, damit die Farben herausspringen. Ändere jedoch nicht die Farben.
8. Eine Neubewertung der Ranking-Parameter
Google hat vor kurzem ein Patent auf das Ranking von Dokumenten in großen Datensätzen erhalten. Es ist eine robuste Lösung für das Spam-Problem, gegen das Google seit langem ankämpft.
Wie wir alle wissen, ist die Anzahl der Backlinks, die man hat, einer der ständigen Bestimmungsfaktoren von SERPs. Im Laufe der Jahre wurde sie von Black Hat SEO ausgenutzt, was mit diesem Patent gelöst werden soll.
Wie funktioniert diese Technologie?
Dieses Patent konzentriert sich auf die Tatsache, dass es nicht ausreicht, einen Backlink allein zu bekommen. Es überwacht das Nutzerverhalten rund um den Navigationslink über einen bestimmten Zeitraum und leitet daraus Rückschlüsse ab. Das Patent spricht über eine Vielzahl von Signalen, um dies zu erreichen.
Wenn das Navigationsverhalten festgestellt wird, dann wird dem Link ein Wert gegeben, der an die Seite, zu der er verlinkt, weitergegeben wird.
Dies kann sehr gut bei Links funktionieren, die auf Social Media Websites erscheinen. Dies ist ein weiteres Beispiel, bei dem der Wissensgraph aus einem großen Datensatz, der von den Nutzern erzeugt wurde, validiert wird.
Was sollten SEO-Manager tun?
Konzentriere dich auf den ersten Punkt, die Schaffung von eng miteinander verbundenen Inhaltsclustern. Dies wird verhindern, dass du in nicht kontextabhängigen Suchergebnissen auftauchst und vermeidet unerwünschte Backlinks, die wahrscheinlich weniger Navigationsaktivitäten registrieren, wie im Patent erwähnt.
Du solltest auch eine gezielte Reichweite erreichen, so dass deine Links, die auf anderen Websites erscheinen, Aktivität erhalten und natürlichen Verkehr auf deine Seite senden.
Man sollte auch bei der Syndizierung von Inhalten vorsichtig sein. Erwäge die Idee des Content Clustering für eine hohe Korrelation und plane deine Syndikationskampagne entsprechend.
9. Tracking von Ereignissen in Videos und Anzeigenschaltung
Videos auf YouTube oder eingebettete Videos auf Seiten haben sich für eine Vielzahl von Unternehmen zu einem wichtigen Content-Asset entwickelt. Inmitten dieses Video-Tsunamis reicht es nicht aus, nur die Gesamtanzahl der Aufrufe eines Videos zu zählen. Man muss die Nutzeraktionen, die innerhalb der Videos stattfinden, durch die Quantifizierung der Daten sinnvoll erfassen, was Google bereits tut.
Das Patent für das Tracking der Nutzeraktivitäten und die Bereitstellung von Webanalysen konzentriert sich darauf, alle Nutzeraktionen zu aggregieren und dann an die Server zurückzusenden, um den Video-Content aufzuwerten und auch kontextbezogene Anzeigen zu platzieren.

Eingebettete Videos haben zusätzliche Benutzeraktionen wie „später ansehen“, „teilen“, „Untertitel ein und aus“ und „verwandte Videos“.
Einige Faktoren, über die Google Daten sammeln möchte:
- Die Anzahl der Klicks auf das Video
- Die durchschnittliche Dauer des von den Nutzern gesehenen Videos
- Wo in der Video-Timeline überspringen die Leute lieber?
- Schauen sie die Werbung an oder überspringen sie sie?
- Schauen sie es mit Untertiteln etc. an?

Google hat bereits das Überspringen auf eine Zeit auf der Suchleiste implementiert. Oft wird die Suchleiste angeklickt, um den gewünschten Teil des Inhalts anzuzeigen, und Google hilft den Nutzern dabei.
Diese Datenpunkte können, wenn sie mit den anderen Metadaten kombiniert werden, starke Signale über den Engagement-Faktor des Video-Content und ihre kontextbezogene Ausrichtung auf den Web-Content, mit dem sie gepaart sind, geben.
Ein weiteres Patent, das Objekte innerhalb von Medieninhalten verfolgt, wurde ebenfalls identifiziert. Es analysiert die Objekte innerhalb der Medien mit Hilfe von maschinellem Lernen und findet dann den Kontext der Suche heraus.
Die Suchsignale können eine Frame-Pause in einem Video sein, die Wiedergabe eines Teils innerhalb der Zeitleiste von Multimedia-Inhalten und so weiter. Dies wird durch ein weiteres Patent weitergeführt, das Gesichtserkennung, Tracking von Logos und Labels etc. durchführt, die in den Videos erscheinen und diese dann mit den Suchanfragen in Beziehung setzt.
Was sollten SEOs tun?
SEO-Manager sollten die Bedeutung von Videos als einen Ranking-Faktor verstehen, der erst im Jahr 2020 steigen wird. Während die Erstellung von mehr Video-Content, der Ihre Zielgruppe einbezieht, ein nützlicher Vorschlag ist, wird dies mit Kosten verbunden sein. Für große Unternehmen mit tiefen Taschen ist dies zweifellos etwas, auf das sie sich konzentrieren können.
Kleinere Unternehmen müssen hochinteressante Videos mit einem kleineren Budget erstellen oder Videos von anderen Nutzern verwenden. Wenn sie das tun wollen, müssen die SEO-Manager mehr Zeit darauf verwenden, Videos zu finden und welche mit ihrem Inhalt übereinstimmen.
Soweit unsere Erfahrung reicht, empfehlen wir, Videos als Erweiterung des Inhalts oder als Verbindung eines Blocks mit der gesamten Content-Idee einzusetzen.
10. Maßgeschneiderte Suchergebnisse und schnellerer Zugriff
Diese ist bereits weitgehend ausgerollt, und die Suchergebnisse sind auf die Präferenzen der Nutzer abgestimmt. Das Patent mit dem Titel „Serving Content Based on User Engagement“ nutzt physische Ressourcen, um die bisherige Interaktion des Nutzers mit dem Inhalt und seinen verschiedenen Elementen zu cachen und zu analysieren.
Die Daten werden analysiert und gespeichert. Wenn ein Benutzer das nächste Mal nach ähnlichen oder kontextbezogenen Abfragen sucht, können einige Seiten eine bessere Position als andere erhalten.
Wenn du dies testen möchtest, kannst du nach einer häufig gesuchten Abfrage suchen und dann dieselbe Abfrage im Inkognito-Modus auf Chrome durchsuchen. Die Ergebnisse werden variieren. Die Sites, mit denen du zuvor interagiert hast, werden an der Spitze angezeigt als die Sites, mit denen du nicht interagiert hast oder die du nicht geöffnet hast. Im Inkognito-Modus wird diese Einstellung jedoch nicht bemerkt.

Der Inkognito-Modus berücksichtigt nicht deine bisherige Browsing-Vergangenheit.
Dies wird durch ein Patent auf eine schnellere Methode zum Abrufen von vorgerenderten Inhalten für Suchergebnisse ergänzt. Mit anderen Worten: Wenn du regelmäßig nach einer Anzahl von Schlüsselwörtern gesucht hast, erscheint die Suchergebnisseite ohne Verzögerung, da die Einstellungen für einzelne Benutzer vorgerendert werden.
Was sollten SEO-Manager tun?
Das Naheliegendste ist es, mindestens eine Interaktion mit allen möglichen Interessenten zu verdienen, die auf Ihrer Website landen würden. Um das zu tun, wäre einer der einfachsten Wege, sich auf bezahltes Marketing zu konzentrieren.
Erstelle Webseiten mit dem Ziel-Keyword und führe dann PPC- oder Facebook-Kampagnen für eine große Anzahl von Nutzern durch, um auf dieser zu landen. Wenn sie dann das nächste Mal etwas Ähnliches suchen, kann es sein, dass deine Seite ein paar Plätze vor deinem Konkurrenten auftaucht.
Allerdings sollte man es vermeiden, mäßigen oder irrelevanten Traffic auf die Seite zu locken. Du möchtest zwar einen höheren Rang einnehmen, aber gleichzeitig nicht als irrelevant von Google wahrgenommen werden.
11. Vermeide die Verwendung von urheberrechtlich geschützten oder von Dritten stammenden Multimedia-Inhalten
Content-Plagiate sind ein mächtiger Dämon für Suchmaschinen, Hosting-Provider und andere Unternehmen. Schau dir an, wie Kinsta mit einer Content Scraping Farm umgegangen ist. Ohne eine Plagiatsprüfung würden die Ersteller von Inhalten niemals mit neuen Inhalten aufwarten, und das Internet wäre niemals das, was es jetzt ist.
Viele Inhalte werden in Form von Text gestohlen, und das ist leicht zu erkennen. Was passiert jedoch, wenn jemand einen Teil Ihres Videos oder Ihrer Musik oder irgendeine Form von Multimedia-Inhalten stiehlt? Wie erkennt man das? Nun, Google scheint das immer mehr in den Griff zu bekommen.

Das Auffinden und Identifizieren von urheberrechtlich geschützter Musik auf YouTube gibt es schon seit einiger Zeit. Allerdings arbeitet Google jetzt hart daran, die Rechte an die wahren Macher der Inhalte zu vergeben. Google möchte, dass alle Arten von Nutzern Multimedia-Inhalte erstellen, und der Diebstahl dieser Inhalte wird nicht toleriert.
Eines der Google-Patente mit dem Titel Identifizieren von Referenz-Content, der Content von Drittanbietern enthält, zeigt eine Technik, die urheberrechtlich geschützten oder von Drittanbietern verwendeten Content identifiziert, der von jedem Nutzer in seinem Content verwendet wird. Mit anderen Worten: Google möchte den ursprünglichen Eigentümer des Contents belohnen und gleichzeitig den Plagiator bestrafen.
Was sollten SEOs tun?
Vermeide die Verwendung von Multimedia-Inhalten von Drittanbietern, wie beispielsweise urheberrechtlich geschützte Musik oder Teile von Videos, die einem Plattenlabel gehören, usw. Kaufe Stock-Videos und andere Multimedia-Inhalte oder erstelle ein Repository mit kostenlosen Stock-Bildern. Setze einen Designer ein, um Iterationen zu erstellen, die kostenlose Stock-Bilder, Vektoren und Symbole kombinieren. Melde dich auch für kostenlose Musik an. Du kannst auch Künstler auf SoundCloud kontaktieren und ihre Erlaubnis einholen, ihre Arbeiten für deine Inhalte zu verwenden. Viele von ihnen benötigen eine Veröffentlichung und werden Ihr Angebot wahrscheinlich nicht ablehnen.
Zusammenfassung
Die thematische Betrachtung dieser Patente legt nahe, dass Google sich sehr darauf konzentriert, sich selbst und seine gesamte Umgebung für lokale Unternehmen wertvoller zu machen. Dies ist möglich, indem man den Wissensgraphen optimiert, eine aggregierte kontextbezogene Genauigkeit von Überprüfungen und ortsbezogene Daten zusammenfasst und eine Reihe dieser Datenpunkte mit Hilfe von sozialen Medien validiert. Google hat die Weichen auf dem Weg dorthin gestellt.
Wir glauben, dass die lokale SEO im Jahr 2020 ein Comeback erleben wird, mit einer signifikanten Priorität auf Standort, Sprache, Video, Bewertungen und Social Media. Während viele SEO-Leistungen wahrscheinlich im Jahr 2020 herauskommen werden, sollte die strategische Neigung der SEO-Manager einen laserartigen Fokus auf die kontextuelle Relevanz für ganzheitliche Ergebnisse und ROI haben.